龙虎榜丨国华网安今日涨停,机构合计净卖出378.27万元

http://ddx.gubit.cn  2023-07-11 16:45  国华网安(000004)公司分析

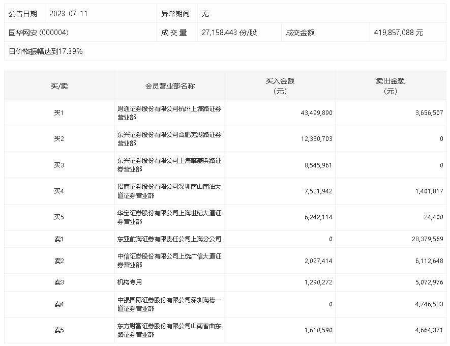
7月11日,国华网安今日涨停,龙虎榜数据显示,上榜营业部席位全天成交1.37亿元,占当日总成交金额比例为32.66%。其中,买入金额为8306.89万元,卖出金额为5405.88万元,合计净买入2901.01万元。

具体来看,机构买入129.03万元,卖出507.3万元,合计净卖出378.27万元。此外,财通证券杭州上塘路证券营业部、东兴证券合肥芜湖路证券营业部分别买入4349.99万元、1233.07万元;东亚前海证券上海分公司、中信证券上饶广信大道证券营业部分别卖出2837.96万元、611.26万元。