深振业A:2024年上半年亏损3.46亿元

中证智能财讯 深振业A(000006)8月30日披露2024年半年报。2024年上半年,公司实现营业总收入32.37亿元,同比增长461.77%;归母净利润亏损3.46亿元,上年同期盈利848.82万元;扣非净利润亏损3.47亿元,上年同期盈利647.02万元;经营活动产生的现金流量净额为-3397.34万元,上年同期为-4.47亿元;报告期内,深振业A基本每股收益为-0.2563元,加权平均净资产收益率为-5.09%。
公告称,公司营业收入变化主要由于本期结转增加。

以8月29日收盘价计算,深振业A目前市盈率(TTM)约为-4.36倍,市净率(LF)约为0.76倍,市销率(TTM)约为0.92倍。

公司近年市盈率(TTM)、市净率(LF)、市销率(TTM)历史分位图如下所示:



根据半年报,公司第二季度实现营业总收入29.84亿元,同比增长860.98%,环比增长1080.75%;归母净利润-3.19亿元,同比下降1652.42%,环比下降1100.84%;扣非净利润-3.2亿元,同比下降1709.71%,环比下降1089.44%。

半年报称,公司以房地产开发经营为主营业务,在深圳、广州等多地分别设立地区公司开展房地产开发业务,产品类别涉及普通居民住宅、商用物业等多种类型,累计开发面积逾千万平方米。同时,公司在棚改代建、企业公寓、商业运营、城市服务等领域持续发力、积极布局,围绕中央构建房地产发展新模式部署,加强房地产“三大工程”领域的探索及研究。
分产品来看,2024年上半年公司主营业务中,房产销售收入31.57亿元,同比增长527.85%,占营业收入的97.55%;房产租赁收入0.60亿元,同比增长17.95%,占营业收入的1.87%;代建服务收入0.15亿元,同比下降20.88%,占营业收入的0.48%。

2024年上半年,公司毛利率为8.06%,同比下降26.31个百分点;净利率为-12.82%,较上年同期下降14.02个百分点。从单季度指标来看,2024年第二季度公司毛利率为6.27%,同比下降25.37个百分点,环比下降22.91个百分点;净利率为-12.94%,较上年同期下降19.36个百分点,较上一季度下降1.54个百分点。

分产品看,房产销售、房产租赁、代建服务2024年上半年毛利率分别为7.20%、34.02%、99.49%。

数据显示,2024年上半年公司加权平均净资产收益率为-5.09%,较上年同期下降5.20个百分点;公司2024年上半年投入资本回报率为-2.07%,较上年同期下降2.69个百分点。

2024年上半年,公司经营活动现金流净额为-3397.34万元,同比增加4.13亿元;筹资活动现金流净额-7.49亿元,同比减少9.81亿元;投资活动现金流净额-9509.39万元,上年同期为-2747.5万元。
进一步统计发现,2024年上半年公司自由现金流为-1.64亿元,上年同期为-4.82亿元。

2024年上半年,公司营业收入现金比为50.13%。

营运能力方面,2024年上半年,公司总资产周转率为0.13次,上年同期为0.02次(2023年上半年行业平均值为0.07次,公司位居同行业69/79);公司应收账款周转率、存货周转率分别为70.98次、0.19次。

2024年上半年,公司期间费用为2.61亿元,较上年同期增加7052.32万元;但期间费用率为8.05%,较上年同期下降24.93个百分点。其中,销售费用同比增长220.9%,管理费用同比增长26.99%,财务费用同比增长4.12%。
资料显示,销售费用的变动主要因为项目成本费用化。

资产重大变化方面,截至2024年上半年末,公司货币资金较上年末减少23.48%,占公司总资产比重下降1.82个百分点;存货较上年末减少15.24%,占公司总资产比重下降1.79个百分点;其他非流动资产较上年末增加0.47%,占公司总资产比重上升1.36个百分点;投资性房地产较上年末减少1.77%,占公司总资产比重上升0.54个百分点。

负债重大变化方面,截至2024年上半年末,公司合同负债较上年末减少38.37%,占公司总资产比重下降5.57个百分点;一年内到期的非流动负债较上年末减少19.61%,占公司总资产比重下降0.61个百分点;长期借款较上年末减少7.58%,占公司总资产比重上升0.92个百分点;应交税费较上年末减少17.42%,占公司总资产比重下降0.25个百分点。

在偿债能力方面,公司2024年上半年末资产负债率为68.89%,相比上年末下降2.40个百分点;有息资产负债率为32.81%,相比上年末上升1.93个百分点。

2024年上半年,公司流动比率为1.89,速动比率为0.41。

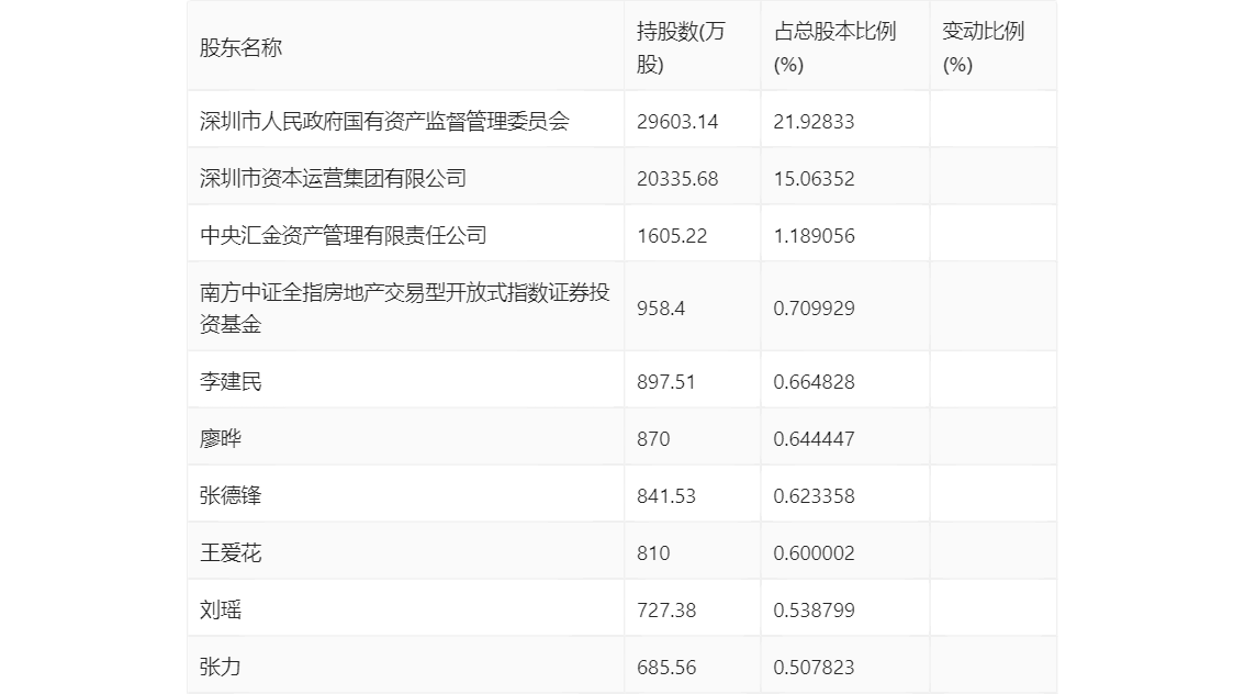
半年报显示,2024年上半年末公司十大流通股东中,新进股东为王爱花,取代了一季度末的香港中央结算有限公司。在具体持股比例上,南方中证全指房地产交易型开放式指数证券投资基金、李建民持股有所上升。

筹码集中度方面,截至2024年上半年末,公司股东总户数为6.02万户,较一季度末下降了3101户,降幅4.90%;户均持股市值由一季度末的8.42万元上升至8.70万元,增幅为3.33%。

指标注解:
市盈率
=总市值/净利润。当公司亏损时市盈率为负,此时用市盈率估值没有实际意义,往往用市净率或市销率做参考。
市净率
=总市值/净资产。市净率估值法多用于盈利波动较大而净资产相对稳定的公司。
市销率
=总市值/营业收入。市销率估值法通常用于亏损或微利的成长型公司。
文中市盈率和市销率采用TTM方式,即以截至最近一期财报(含预报)12个月的数据计算。市净率采用LF方式,即以最近一期财报数据计算。
市盈率为负时,不显示当期分位数,会导致折线图中断。