龙虎榜丨深中华A今日涨停,营业部席位合计净卖出1843.75万元

查股网  2024-01-22 16:42  深中华A(000017)个股分析

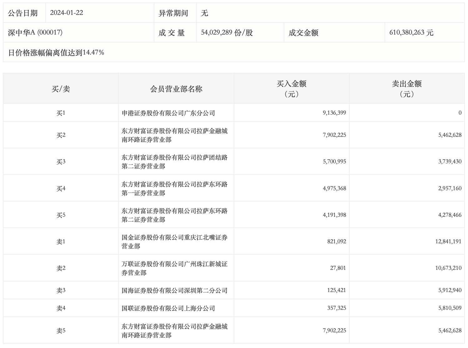
1月22日,深中华A今日涨停,全天换手率达17.83%,振幅达8.82%。龙虎榜数据显示,营业部席位合计净卖出1843.75万元。其中,申港证券广东分公司、东方财富证券拉萨金融城南环路证券营业部分别买入913.64万元、790.22万元;国金证券重庆江北嘴证券营业部、万联证券广州珠江新城证券营业部分别卖出1284.12万元、1067.32万元。