龙虎榜丨深中华A今日跌5.39%,知名游资方新侠净卖出2259.66万元

查股网  2024-02-06 16:34  深中华A(000017)个股分析

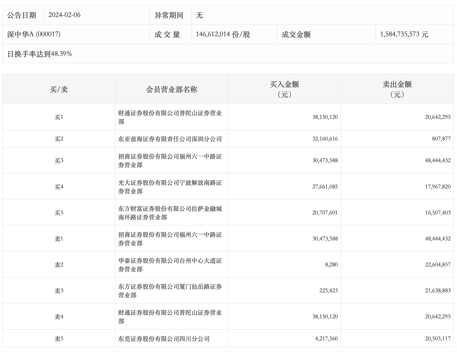
2月6日,深中华A今日跌5.39%,龙虎榜数据显示,上榜营业部席位全天成交3.23亿元,占当日总成交金额比例为20.36%。其中,买入金额为1.54亿元,卖出金额为1.69亿元,合计净卖出1551.44万元。

具体来看,知名游资现身龙虎榜,招商证券福州六一中路证券营业部、方新侠(华泰证券台州中心大道证券营业部)分别卖出4844.44万元、2260.49万元;财通证券普陀山证券营业部、东亚前海证券深圳分公司分别买入3815.01万元、3216.06万元。