龙虎榜丨深中华A今日跌2.11%,知名游资宁波桑田路净卖出1118.65万元

查股网  2024-02-07 17:32  深中华A(000017)个股分析

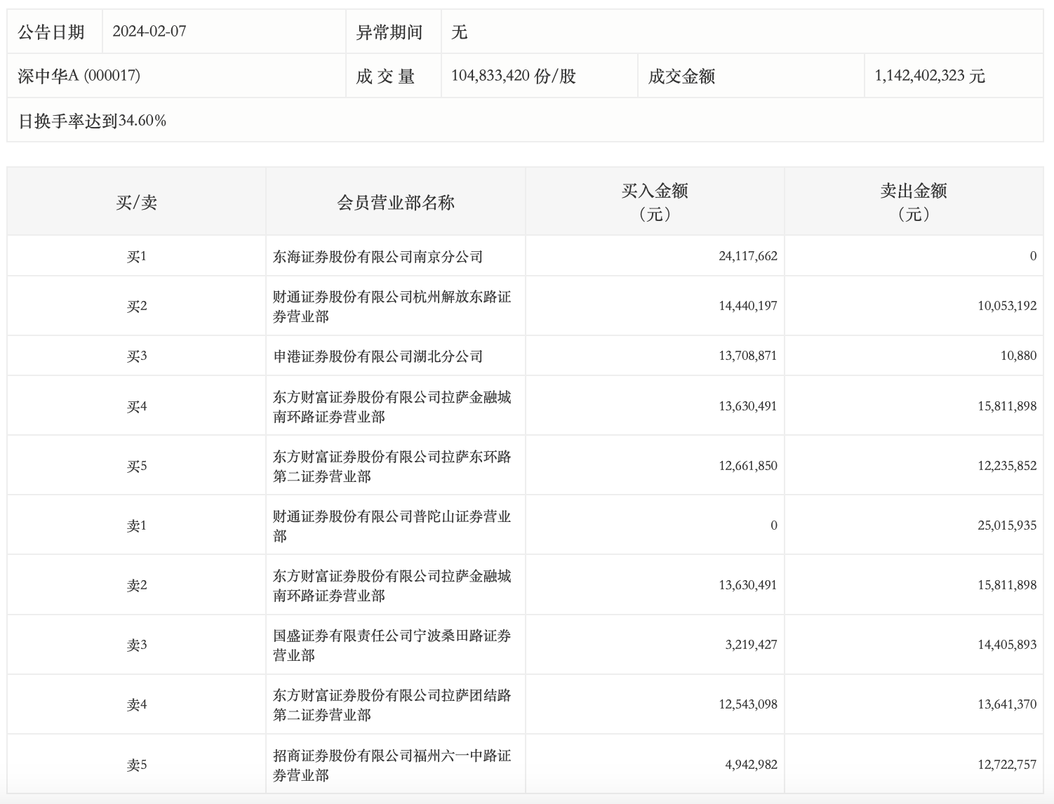
2月7日,深中华A今日跌2.11%,龙虎榜数据显示,上榜营业部席位全天成交2.03亿元,占当日总成交金额比例为17.78%。其中,买入金额为9926.46万元,卖出金额为1.04亿元,合计净卖出463.32万元。

具体来看,知名游资现身龙虎榜,宁波桑田路(国盛证券有限责任公司宁波桑田路证券营业部)净卖出1118.65万元。此外,财通证券普陀山证券营业部、东方财富证券拉萨金融城南环路证券营业部分别卖出2501.59万元、1581.19万元;东海证券南京分公司、财通证券杭州解放东路证券营业部分别买入2411.77万元、1444.02万元。