龙虎榜 | 深中华A今日跌停,营业部席位合计净卖出4550.57万元

查股网  2024-02-08 19:43  深中华A(000017)个股分析

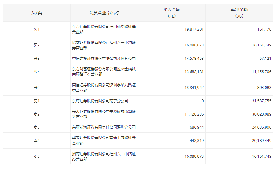
2月8日,深中华A今日跌停,全天换手率达36.97%,振幅达8.26%。龙虎榜数据显示,营业部席位合计净卖出4550.57万元。其中,东海证券南京分公司、光大证券宁波解放南路证券营业部分别卖出3158.78万元、3002.81万元;东方证券厦门仙岳路证券营业部、招商证券福州六一中路证券营业部分别买入1981.73万元、1608.89万元。