龙虎榜丨深中华A今日跌3.52%,知名游资宁波桑田路净卖出1574.01万元

查股网  2024-02-27 19:23  深中华A(000017)个股分析

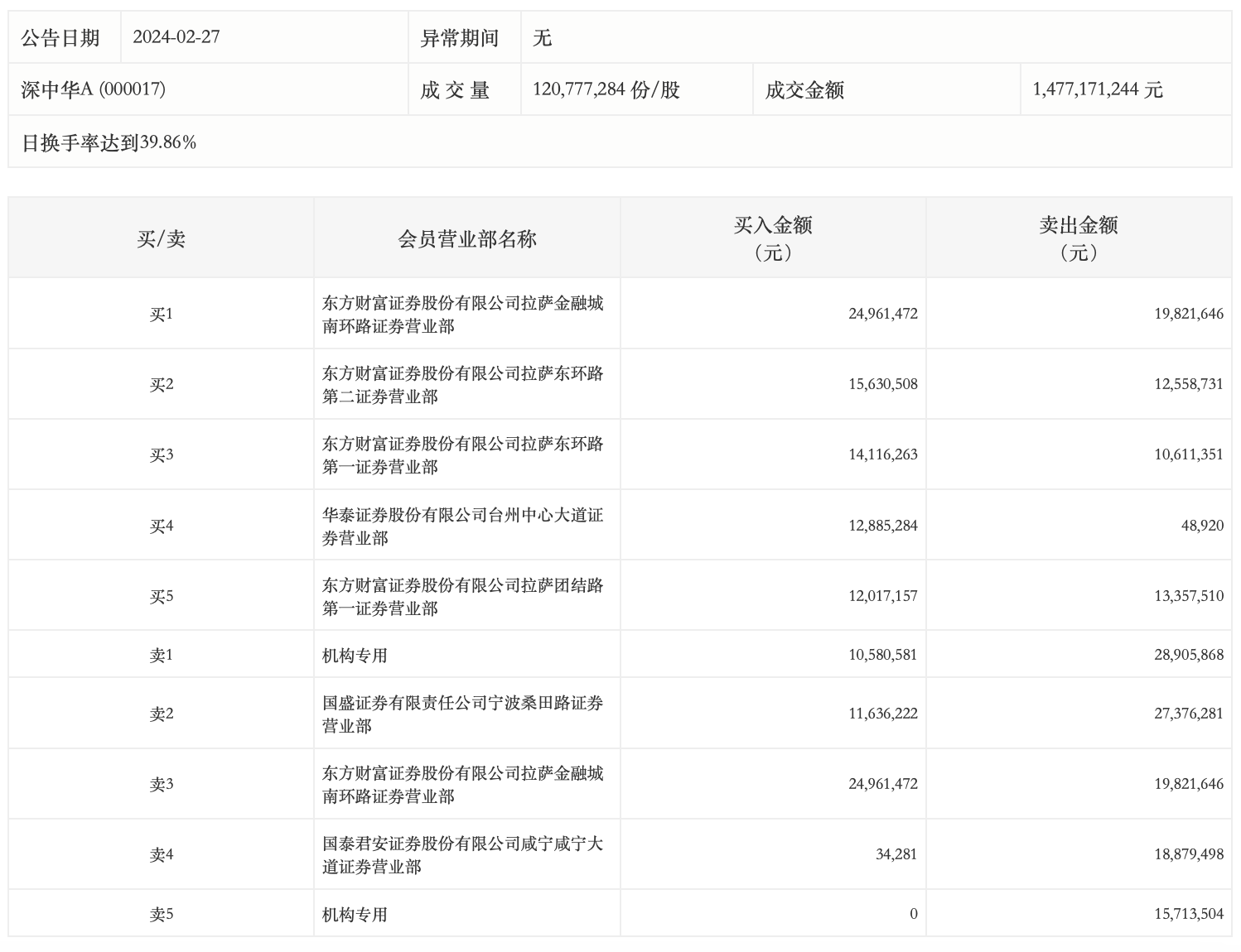
2月27日,深中华A今日跌3.52%,龙虎榜数据显示,上榜营业部席位全天成交2.49亿元,占当日总成交金额比例为16.87%。其中,买入金额为1.02亿元,卖出金额为1.47亿元,合计净卖出4541.15万元。

具体来看,机构买入1058.06万元,卖出4461.94万元,合计净卖出3403.88万元。此外,知名游资现身龙虎榜,宁波桑田路(国盛证券宁波桑田路证券营业部)、东方财富证券拉萨金融城南环路证券营业部分别卖出2737.63万元、1982.16万元;东方财富证券拉萨金融城南环路证券营业部、东方财富证券拉萨东环路第二证券营业部分别买入2496.15万元、1563.05万元。