龙虎榜丨深科技今日涨停,机构合计净买入909.02万元

http://ddx.gubit.cn  2023-04-06 23:17  深科技(000021)公司分析

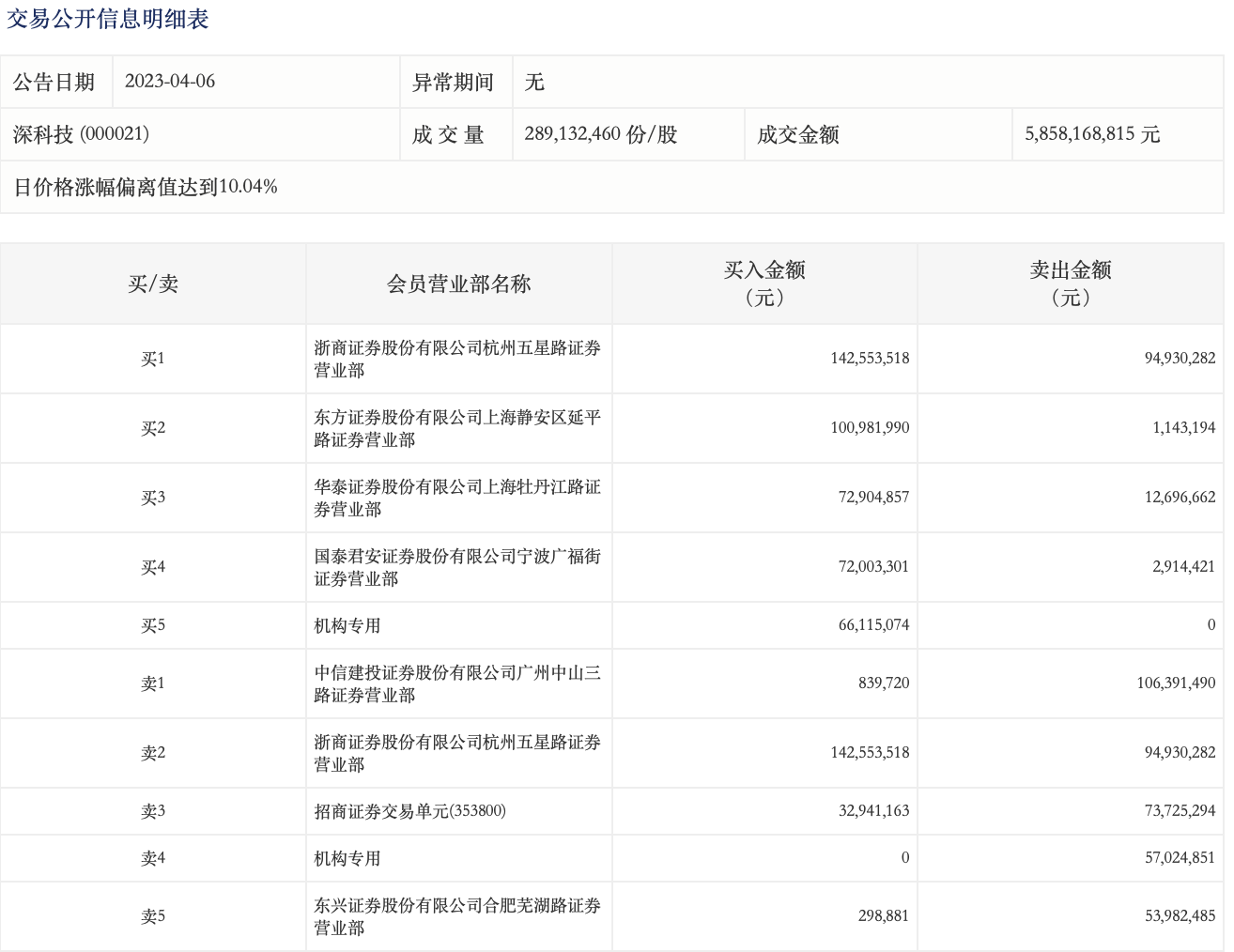
4月6日,深科技今日涨停,龙虎榜数据显示,上榜营业部席位全天成交8.91亿元,占当日总成交金额比例为15.22%。其中,买入金额为4.89亿元,卖出金额为4.03亿元,合计净买入8582.98万元。

具体来看,机构买入6611.51万元,卖出5702.49万元,合计净买入909.02万元。此外,浙商证券杭州五星路证券营业部、东方证券上海静安区延平路证券营业部分别买入1.43亿元、1.01亿元;中信建投证券广州中山三路证券营业部、浙商证券杭州五星路证券营业部分别卖出1.06亿元、9493.03万元。