深深房A:2024年上半年盈利562.28万元 同比扭亏

中证智能财讯 深深房A(000029)8月24日披露2024年半年度报告。2024年上半年,公司实现营业收入1.34亿元,同比下降49.08%;归母净利润562.28万元,同比扭亏;扣非净利润亏损519.71万元,上年同期亏损4246.89万元;经营活动产生的现金流量净额为-1.08亿元,上年同期为-1.92亿元;报告期内,深深房A基本每股收益为0.0056元,加权平均净资产收益率为0.11%。
公告称,公司营业收入变化主要由于房地产销售收入下降。

以8月23日收盘价计算,深深房A目前市盈率(TTM)约为-51.68倍,市净率(LF)约为2.91倍,市销率(TTM)约为26.78倍。

公司近年市盈率(TTM)、市净率(LF)、市销率(TTM)历史分位图如下所示:



根据半年报,公司第二季度实现营业收入7501.03万元,同比下降51.44%,环比增长26.68%;归母净利润372.62万元,同比增长354.46%,环比增长96.47%;扣非净利润-122.19万元,同比增长73.64%,环比增长69.26% 。

资料显示,公司专注于住宅地产开发。
分产品来看,2024年上半年公司主营业务中,住宅收入1114.53万元,同比下降84.52%,占营业收入的8.3%;商铺及车位收入472.16万元,同比增长1061.61%,占营业收入的3.52%。

2024年上半年,公司毛利率为19.96%,同比上升2.36个百分点;净利率为3.63%,较上年同期上升18.29个百分点。从单季度指标来看,2024年第二季度公司毛利率为20.99%,同比下降3.81个百分点,环比上升2.33个百分点;净利率为4.44%,较上年同期上升5.87个百分点,较上一季度上升1.84个百分点。


2024年上半年,公司经营活动现金流净额为-1.08亿元,同比增加8369.14万元;筹资活动现金流净额-1.04亿元,同比减少1.42亿元;投资活动现金流净额-3926.41万元,上年同期为1.38亿元。
进一步统计发现,2024年上半年公司自由现金流为-1.63亿元,上年同期为-0.78亿元。

2024年上半年,公司营业收入现金比为218.53%,净现比为-1928.75%。

营运能力方面,2024年上半年,公司公司总资产周转率为0.02次,上年同期为0.05次(2023年上半年行业平均值为0.07次,公司位居同行业54/79);固定资产周转率为6.90次,上年同期为12.52次(2023年上半年行业平均值为8.45次,公司位居同行业25/79);公司应收账款周转率、存货周转率分别为1.67次、0.03次。

2024年上半年,公司期间费用为2736.24万元,较上年同期减少426.91万元;但期间费用率为20.39%,较上年同期上升8.39个百分点。其中,销售费用同比下降38.05%,管理费用同比增长15.43%,财务费用由去年同期的-61.23万元变为-515.50万元。
资料显示,销售费用的变动主要因为房地产销售收入下降,销售费用相应减少;管理费用的变动主要因为项目开发及人员结构化调整;财务费用的变动主要因为银行存款余额较上年同期增加、存款利息收入同比增加。

资产重大变化方面,截至2024年上半年末,公司货币资金较上年末减少29.35%,占公司总资产比重下降3.87个百分点;存货较上年末增加2.67%,占公司总资产比重上升2.09个百分点;其他流动资产较上年末增加86.28%,占公司总资产比重上升1.18个百分点;交易性金融资产较上年末增加5.65%,占公司总资产比重上升0.88个百分点。

负债重大变化方面,截至2024年上半年末,公司长期借款较上年末减少65.26%,占公司总资产比重下降1.80个百分点;合同负债较上年末增加6.57%,占公司总资产比重上升1.47个百分点;应付账款较上年末减少8.91%,占公司总资产比重下降0.56个百分点;一年内到期的非流动负债较上年末增加47.75%,占公司总资产比重上升0.25个百分点。

从存货变动来看,截至2024年上半年末,公司存货账面价值为40.2亿元,占净资产的108.8%,较上年末增加1.05亿元。其中,存货跌价准备为3.92亿元,计提比例为8.88%。

在偿债能力方面,公司2024年上半年末资产负债率为41.29%,相比上年末下降0.48个百分点;有息资产负债率为1.91%,相比上年末下降1.44个百分点。

2024年上半年,公司流动比率为2.25,速动比率为0.70。

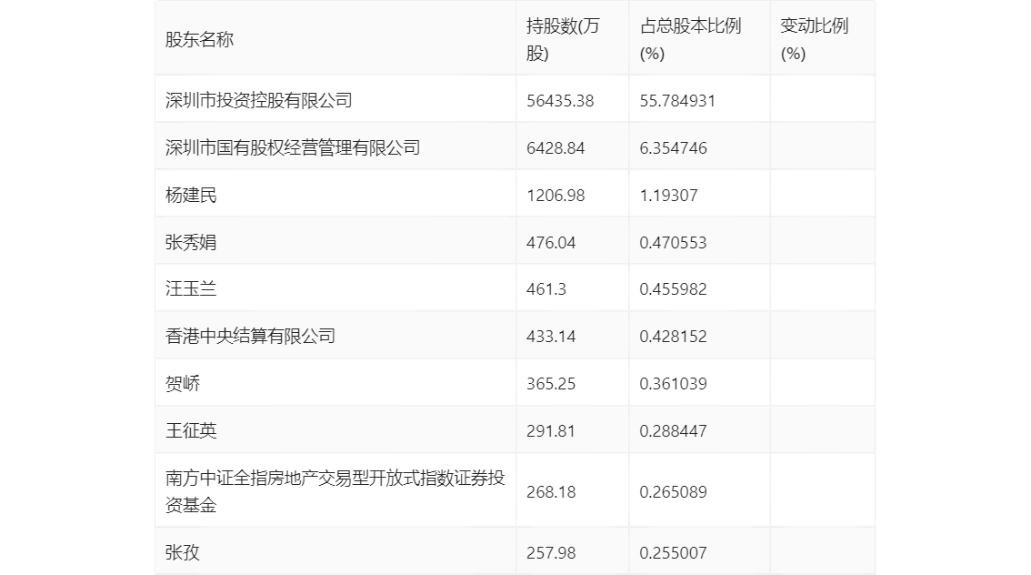
半年报显示,2024年上半年末公司十大流通股东中,新进股东为南方中证全指房地产交易型开放式指数证券投资基金,取代了一季度末的潘君。在具体持股比例上,杨建民、香港中央结算有限公司、贺峤持股有所上升,张孜持股有所下降。

指标注解:
市盈率
=总市值/净利润。当公司亏损时市盈率为负,此时用市盈率估值没有实际意义,往往用市净率或市销率做参考。
市净率
=总市值/净资产。市净率估值法多用于盈利波动较大而净资产相对稳定的公司。
市销率
=总市值/营业收入。市销率估值法通常用于亏损或微利的成长型公司。
文中市盈率和市销率采用TTM方式,即以截至最近一期财报(含预报)12个月的数据计算。市净率采用LF方式,即以最近一期财报数据计算。
市盈率为负时,不显示当期分位数,会导致折线图中断。