富奥股份:2024年第一季度净利润1.63亿元 同比增长98.92%

中证智能财讯 富奥股份(000030)4月22日披露2024年一季报。2024年第一季度,公司实现营业总收入37.64亿元,同比增长34.28%;归母净利润1.63亿元,同比增长98.92%;扣非净利润1.37亿元,同比增长100.63%;经营活动产生的现金流量净额为-5.85亿元,上年同期为-6.21亿元;报告期内,富奥股份基本每股收益为0.09元,加权平均净资产收益率为2.10%。


2024年第一季度,公司毛利率为10.82%,同比上升2.53个百分点;净利率为5.31%,较上年同期上升2.83个百分点。

数据显示,2024年第一季度公司加权平均净资产收益率为2.10%,较上年同期增长1.01个百分点;公司2024年第一季度投入资本回报率为1.99%,较上年同期增长1.36个百分点。

2024年第一季度,公司经营活动现金流净额为-5.85亿元,同比增加3622.20万元;筹资活动现金流净额-7147.41万元,同比增加1312.49万元;投资活动现金流净额-2703.12万元,上年同期为-7030.15万元。

2024年第一季度,公司营业收入现金比为72.51%,净现比为-358.91%。

资产重大变化方面,截至2024年一季度末,公司应收款项融资较上年末增加68.95%,占公司总资产比重上升4.34个百分点;货币资金较上年末减少35.23%,占公司总资产比重下降3.96个百分点;应收账款较上年末减少13.29%,占公司总资产比重下降2.51个百分点;长期股权投资较上年末增加3.90%,占公司总资产比重上升1.14个百分点。

负债重大变化方面,截至2024年一季度末,公司应付账款较上年末减少15.20%,占公司总资产比重下降3.20个百分点;应付票据较上年末增加12.76%,占公司总资产比重上升1.45个百分点;一年内到期的非流动负债较上年末减少9.84%,占公司总资产比重下降0.32个百分点;其他应付款(含利息和股利)较上年末减少4.45%,占公司总资产比重下降0.09个百分点。

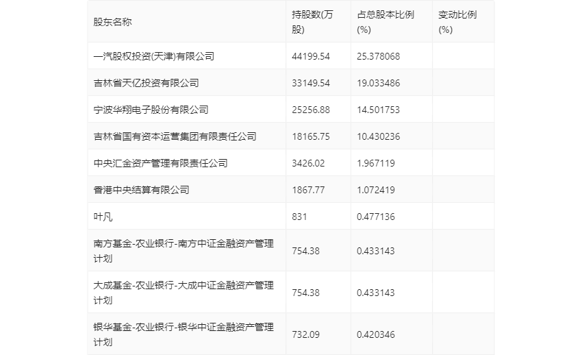
一季报显示,2024年一季度末公司十大流通股东中,新进股东为吉林省国有资本运营集团有限责任公司、银华基金-农业银行-银华中证金融资产管理计划,取代了上年末的吉林省国有资本运营有限责任公司、逯彦龙。在具体持股比例上,大成基金-农业银行-大成中证金融资产管理计划持股有所上升,香港中央结算有限公司持股有所下降。

筹码集中度方面,截至2024年一季度末,公司股东总户数为3.26万户,较上年末增长了1611户,增幅5.19%;户均持股市值由上年末的29.98万元下降至28.66万元,降幅为4.4%。
