富奥股份:2024年上半年净利润3.17亿元 同比增长41.62%

中证智能财讯 富奥股份(000030)8月28日披露2024年半年度报告。2024年上半年,公司实现营业收入76.01亿元,同比增长16.23%;归母净利润3.17亿元,同比增长41.62%;扣非净利润2.71亿元,同比增长41.40%;经营活动产生的现金流量净额为-1.73亿元,上年同期为-1.67亿元;报告期内,富奥股份基本每股收益为0.1842元,加权平均净资产收益率为4.08%。

以8月27日收盘价计算,富奥股份目前市盈率(TTM)约为11.19倍,市净率(LF)约为1.03倍,市销率(TTM)约为0.46倍。

公司近年市盈率(TTM)、市净率(LF)、市销率(TTM)历史分位图如下所示:



根据半年报,公司第二季度实现营业总收入38.36亿元,同比增长2.69%,环比增长1.92%;归母净利润1.54亿元,同比增长8.54%,环比下降5.48%;扣非净利润1.34亿元,同比增长8.71%,环比下降1.82%。

半年报显示,公司主要从事汽车零部件的研发、生产和销售。
2024年上半年,公司毛利率为11.52%,同比上升1.76个百分点;净利率为5.27%,较上年同期上升1.93个百分点。从单季度指标来看,2024年第二季度公司毛利率为12.22%,同比上升1.35个百分点,环比上升1.40个百分点;净利率为5.24%,较上年同期上升1.26个百分点,较上一季度下降0.07个百分点。

数据显示,2024年上半年公司加权平均净资产收益率为4.08%,较上年同期增长1.10个百分点;公司2024年上半年投入资本回报率为4.06%,较上年同期增长1.75个百分点。

2024年上半年,公司经营活动现金流净额为-1.73亿元,同比减少620.42万元;筹资活动现金流净额-4.39亿元,同比增加1.18亿元;投资活动现金流净额2.51亿元,上年同期为1553.29万元,主要系本期取得投资收益所收到的现金增加所致。
进一步统计发现,2024年上半年公司自由现金流为880.57万元,上年同期为-23850.99万元。

2024年上半年,公司营业收入现金比为79.13%,净现比为-54.73%。

营运能力方面,2024年上半年,公司公司总资产周转率为0.45次,上年同期为0.43次(2023年上半年行业平均值为0.28次,公司位居同行业5/99);固定资产周转率为2.57次,上年同期为2.26次(2023年上半年行业平均值为1.29次,公司位居同行业15/99);公司应收账款周转率、存货周转率分别为2.22次、5.20次。

2024年上半年,公司期间费用为7.77亿元,较上年同期增加8914.48万元;但期间费用率为10.22%,较上年同期下降0.30个百分点。其中,销售费用同比增长52.54%,管理费用同比增长17.99%,研发费用同比下降7.12%,财务费用由去年同期的-304.71万元变为442.12万元。
资料显示,销售费用的变动主要因为售后服务费、租赁费、仓储费、包装费增加导致;财务费用的变动主要因为本期利息收入减少。

资产重大变化方面,截至2024年上半年末,公司货币资金较上年末减少21.79%,占公司总资产比重下降2.34个百分点;应收款项融资较上年末增加32.45%,占公司总资产比重上升2.13个百分点;应收账款较上年末减少6.94%,占公司总资产比重下降1.06个百分点;固定资产较上年末增加3.65%,占公司总资产比重上升0.97个百分点。

负债重大变化方面,截至2024年上半年末,公司应付账款较上年末减少16.93%,占公司总资产比重下降3.50个百分点;应付票据较上年末增加25.54%,占公司总资产比重上升2.83个百分点;长期借款较上年末减少83.08%,占公司总资产比重下降1.46个百分点;一年内到期的非流动负债较上年末增加31.95%,占公司总资产比重上升1.28个百分点。

从存货变动来看,截至2024年上半年末,公司存货账面价值为13.44亿元,占净资产的17.75%,较上年末增加9955.56万元。其中,存货跌价准备为6628.31万元,计提比例为4.7%。

在偿债能力方面,公司2024年上半年末资产负债率为47.40%,相比上年末下降0.75个百分点;有息资产负债率为5.57%,相比上年末下降0.05个百分点。

2024年上半年,公司流动比率为1.18,速动比率为0.98。

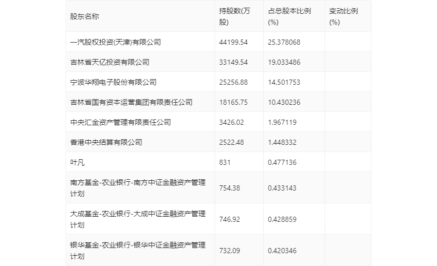
半年报显示,2024年上半年末公司十大流通股东中,持股最多的为一汽股权投资(天津)有限公司,占比25.38%。十大流通股东名单相比2024年一季报维持不变。在具体持股比例上,香港中央结算有限公司持股有所上升。

筹码集中度方面,截至2024年二季度末,公司股东总户数为2.9万户,较一季度末下降了3655户,降幅11.2%;户均持股市值由一季度末的28.66万元上升至29.52万元,增幅为2.97%。

指标注解:
市盈率
=总市值/净利润。当公司亏损时市盈率为负,此时用市盈率估值没有实际意义,往往用市净率或市销率做参考。
市净率
=总市值/净资产。市净率估值法多用于盈利波动较大而净资产相对稳定的公司。
市销率
=总市值/营业收入。市销率估值法通常用于亏损或微利的成长型公司。
文中市盈率和市销率采用TTM方式,即以截至最近一期财报(含预报)12个月的数据计算。市净率采用LF方式,即以最近一期财报数据计算。
市盈率为负时,不显示当期分位数,会导致折线图中断。