龙虎榜丨深南电A今日跌9.33%,营业部席位合计净卖出8926.48万元

查股网  2024-01-31 16:59  深南电A(000037)个股分析

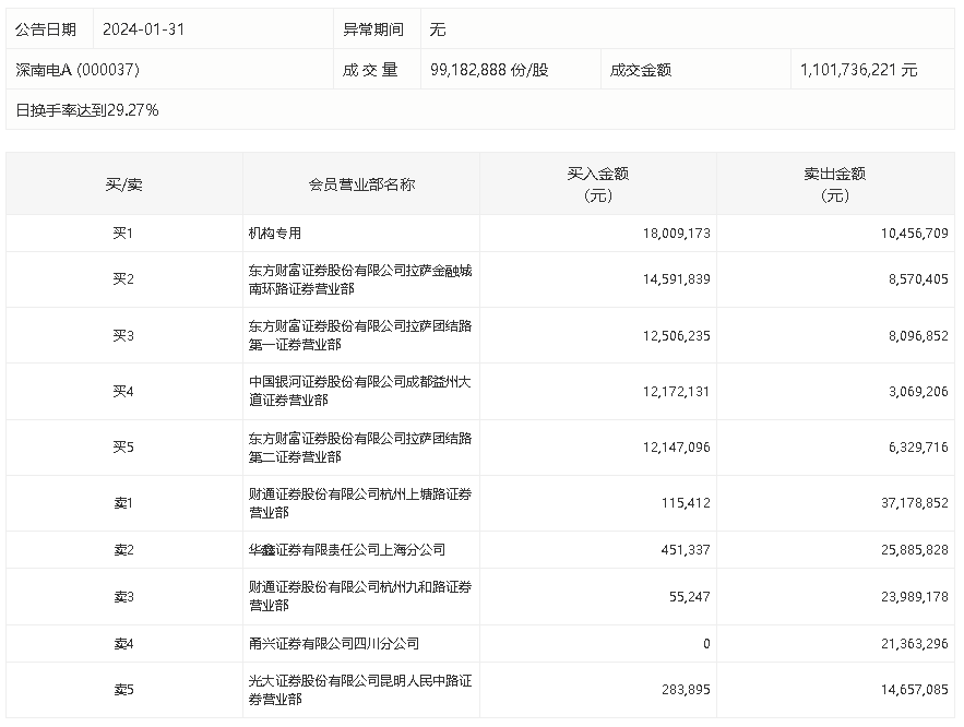
1月31日,深南电A今日跌9.33%,全天换手率达29.27%,振幅达20.07%。龙虎榜数据显示,营业部席位合计净卖出8926.48万元。其中,机构买入1800.92万元,卖出1045.67万元,合计净买入755.25万元。此外,财通证券杭州上塘路证券营业部、华鑫证券上海分公司分别卖出3717.89万元、2588.58万元;东方财富证券拉萨金融城南环路证券营业部、东方财富证券拉萨团结路第一证券营业部分别买入1459.18万元、1250.62万元。