泛海控股集团及卢志强等被执行12.6亿

查股网  2025-10-09 12:00  *ST泛海(000046)个股分析

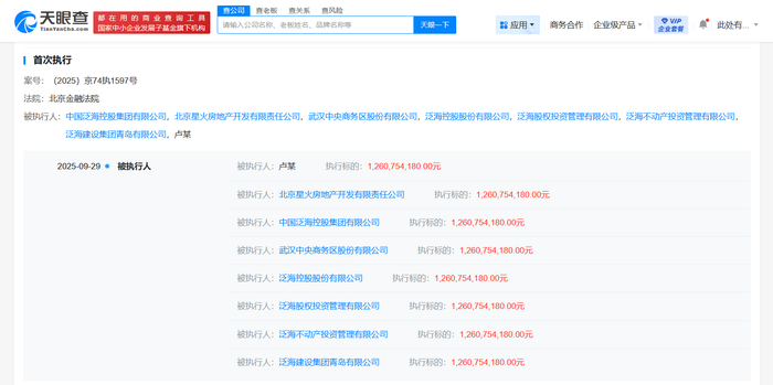
雷达财经讯,天眼查App显示,近日,中国泛海控股集团有限公司、卢志强、武汉中央商务区股份有限公司等新增一则被执行人信息,执行标的12.6亿余元,执行法院为北京金融法院。

中国泛海控股集团有限公司成立于1988年4月,法定代表人为卢志强,注册资本200亿人民币,经营范围含科技、文化、教育、房地产、基础设施项目及产业的投资,资本经营、资产管理,酒店及物业管理等。股东信息显示,该公司由泛海集团有限公司、通海控股有限公司共同持股。风险信息显示,该公司现存20条被执行人信息,被执行总金额超232亿元,此外,该公司还存在多条限制消费令、终本案件及股权冻结信息。