中国长城:2023年亏损9.77亿元

中证智能财讯 中国长城(000066)4月30日披露2023年年报。2023年,公司实现营业总收入134.20亿元,同比下降4.33%;归母净利润亏损9.77亿元,上年同期盈利1.23亿元;扣非净利润亏损11.80亿元,上年同期盈利1378.00万元;经营活动产生的现金流量净额为4.37亿元,上年同期为-4.02亿元;报告期内,中国长城基本每股收益为-0.303元,加权平均净资产收益率为-7.42%。

以4月29日收盘价计算,中国长城目前市盈率(TTM)约为-32.15倍,市净率(LF)约为2.48倍,市销率(TTM)约为2.34倍。

公司近年市盈率(TTM)、市净率(LF)、市销率(TTM)历史分位图如下所示:



数据统计显示,中国长城近三年营业总收入复合增长率为-2.43%,在其他计算机设备行业已披露2023年数据的60家公司中排名第41。近三年净利润复合年增长率为-201.74%,排名44/60。

年报显示,公司从事的主要业务包括计算产业、系统装备及其他业务。
分产品来看,2023年公司主营业务中,计算产业收入82.86亿元,同比下降3.85%,占营业收入的61.74%;系统装备收入43.00亿元,同比下降5.07%,占营业收入的32.04%。

2023年,公司毛利率为21.62%,同比下降3.59个百分点;净利率为-6.50%,较上年同期下降8.13个百分点。从单季度指标来看,2023年第四季度公司毛利率为21.81%,同比下降9.43个百分点,环比上升0.91个百分点;净利率为-1.86%,较上年同期下降15.61个百分点,较上一季度上升4.02个百分点。

分产品看,计算产业、系统装备2023年毛利率分别为16.34%、27.72%。
报告期内,公司前五大客户合计销售金额13.74亿元,占总销售金额比例为10.24%,公司前五名供应商合计采购金额10.20亿元,占年度采购总额比例为9.95%。

数据显示,2023年公司加权平均净资产收益率为-7.42%,较上年同期下降8.34个百分点;公司2023年投入资本回报率为-2.72%,较上年同期下降4.67个百分点。

2023年,公司经营活动现金流净额为4.37亿元,同比增加8.39亿元;筹资活动现金流净额1.21亿元,同比减少26.92亿元;投资活动现金流净额-7.69亿元,上年同期为-18.04亿元。
进一步统计发现,2023年公司自由现金流为-4.16亿元,上年同期为-16.33亿元。

2023年,公司营业收入现金比为116.77%,净现比为-44.73%。

营运能力方面,2023年,公司公司总资产周转率为0.39次,上年同期为0.42次(2022年行业平均值为0.40次,公司位居同行业27/62);公司应收账款周转率、存货周转率分别为2.68次、1.61次。

2023年,公司期间费用为31.13亿元,较上年同期增加6925.26万元;期间费用率为23.19%,较上年同期上升1.49个百分点。其中,销售费用同比增长22.45%,管理费用同比下降6.24%,研发费用同比增长3.03%,财务费用同比下降11.79%。

资产重大变化方面,截至2023年年末,公司存货较上年末减少11.67%,占公司总资产比重下降2.53个百分点;在建工程较上年末减少56.32%,占公司总资产比重下降1.69个百分点;预付款项较上年末增加52.37%,占公司总资产比重上升1.44个百分点;固定资产较上年末增加12.12%,占公司总资产比重上升1.41个百分点。

负债重大变化方面,截至2023年年末,公司长期借款较上年末增加59.66%,占公司总资产比重上升8.47个百分点;一年内到期的非流动负债较上年末减少63.58%,占公司总资产比重下降6.64个百分点;应付账款较上年末增加24.53%,占公司总资产比重上升2.67个百分点;应付票据较上年末减少18.90%,占公司总资产比重下降0.56个百分点。

从存货变动来看,截至2023年年末,公司存货账面价值为61.4亿元,占净资产的48.41%,较上年末减少8.12亿元。其中,存货跌价准备为11.67亿元,计提比例为15.97%。

2023年全年,公司研发投入金额为15.43亿元,同比增长2.77%;研发投入占营业收入比例为11.50%,相比上年同期上升0.80个百分点。此外,公司全年研发投入资本化率为11.74%。


在偿债能力方面,公司2023年年末资产负债率为59.34%,相比上年末上升3.18个百分点;有息资产负债率为31.14%,相比上年末上升1.34个百分点。

2023年,公司流动比率为1.95,速动比率为1.36。

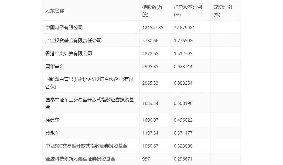
年报显示,2023年年末公司十大流通股东中,新进股东为金鹰科技创新股票型证券投资基金,取代了三季度末的新华人寿保险股份有限公司-分红-团体分红-018L-FH001深。在具体持股比例上,黄永军持股有所上升,香港中央结算有限公司、国泰中证军工交易型开放式指数证券投资基金、中证500交易型开放式指数证券投资基金持股有所下降。

筹码集中度方面,截至2023年年末,公司股东总户数为20.24万户,较三季度末增长了2.42万户,增幅13.56%;户均持股市值由三季度末的18.98万元下降至16.13万元,降幅为15.02%。

指标注解:
市盈率
=总市值/净利润。当公司亏损时市盈率为负,此时用市盈率估值没有实际意义,往往用市净率或市销率做参考。
市净率
=总市值/净资产。市净率估值法多用于盈利波动较大而净资产相对稳定的公司。
市销率
=总市值/营业收入。市销率估值法通常用于亏损或微利的成长型公司。
文中市盈率和市销率采用TTM方式,即以截至最近一期财报(含预报)12个月的数据计算。市净率采用LF方式,即以最近一期财报数据计算。
市盈率为负时,不显示当期分位数,会导致折线图中断。