龙虎榜丨中国长城今日涨停,方新侠席位净买入1.49亿元

查股网  2024-11-08 16:29  中国长城(000066)个股分析

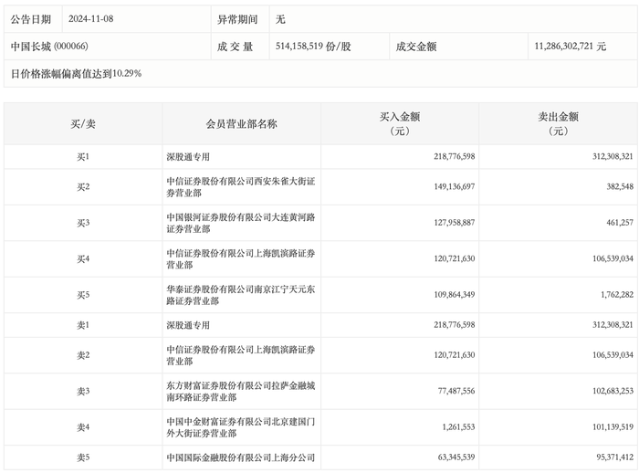
11月8日,中国长城今日涨停,成交额112.86亿元,换手率16.34%,盘后龙虎榜数据显示,方新侠席位(中信证券西安朱雀大街证券营业部)净买入1.49亿元,深股通专用席位买入2.19亿元并卖出3.12亿元。