华侨城连续巨亏,如果是民企,早就暴雷了

2025年3月29日,华侨城发布了2024年年度报告:过去一年,该公司面临较大经营挑战,业绩出现巨额亏损。
1、2024年,华侨城A实现营业收入544.07亿元,同比下降2.40%;归母净利润亏损达86.62亿元,同比增亏33.42%。
2、华侨城A业绩持续承压,已连续三年出现亏损。2022-2024年,其分别亏损109.05亿元、64.92亿元和86.62亿元,累计亏损约260亿元。
3、华侨城A的营业收入也连续三年呈下滑态势。2022-2024年,其营收变动幅度分别为-25.17%、-27.39%和-2.4%。
4、有息负债总额1304亿元,其中中长期借款占比 69%,平均融资成本为 3.62%,较年初下降 29bp。
三年巨亏260亿,华侨城“文旅+地产”模式反成负担。地产业务毛利率骤降31.19%,文旅项目成本高企难创收,债务压顶致子公司4200万借款逾期。深圳九樾广场等标杆项目烂尾,业主维权频发,“文旅帝国”陷信任危机,转型轻资产运营成破局关键。

4月3日,宜宾市自然资源和规划局发布公告,拟收回三江口CBD中央商务区一期5宗地块国有建设用地使用权。收回地块总面约61.93亩,土地用途为商业用地、商务用地,使用权人为宜宾华侨城三江置业有限公司,收回价格为1.27亿元。

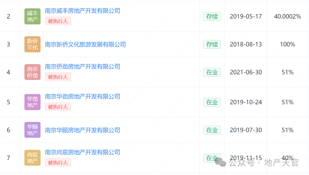
华侨城自身困难的情况下,其下属分子公司也不易,有些已经成为被执行人了。
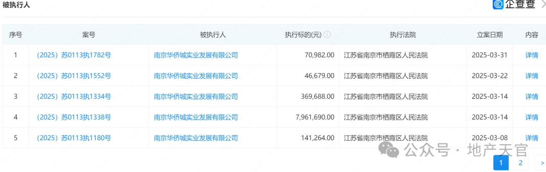
1、南京华侨城实业发展有限公司成为被执行人,已经执行10次,涉案金额1000.14万元,法人为于宁。


2、温州华侨城投资发展有限公司成为被执行人,涉案金额40.29万,已经被执行5次,法人为王政。

3、云南华侨城实业有限公司成为失信被执行人、限制高消费,失信被执行人涉案金额293.39万元、限制高消费2次、终本案件未履行金额1432.84万元。

如果这种情况发生在民企,华侨城早就该暴雷了。
但是,华侨城股份连发两则公告,一是向华侨城集团申请借款,再是向下属公司进行担保。


华侨城的困境是传统房企转型的缩影。短期需通过债务重组、资产盘活稳定现金流,中长期则需重构商业模式,从重资产开发转向轻资产运营,并强化产品力以重建市场信任。
事实如何,以观后效。
(转自:智超讲财商)