龙虎榜丨中成股份今日跌停,机构合计净买入581.24万元

http://ddx.gubit.cn  2023-04-24 21:23  中成股份(000151)公司分析

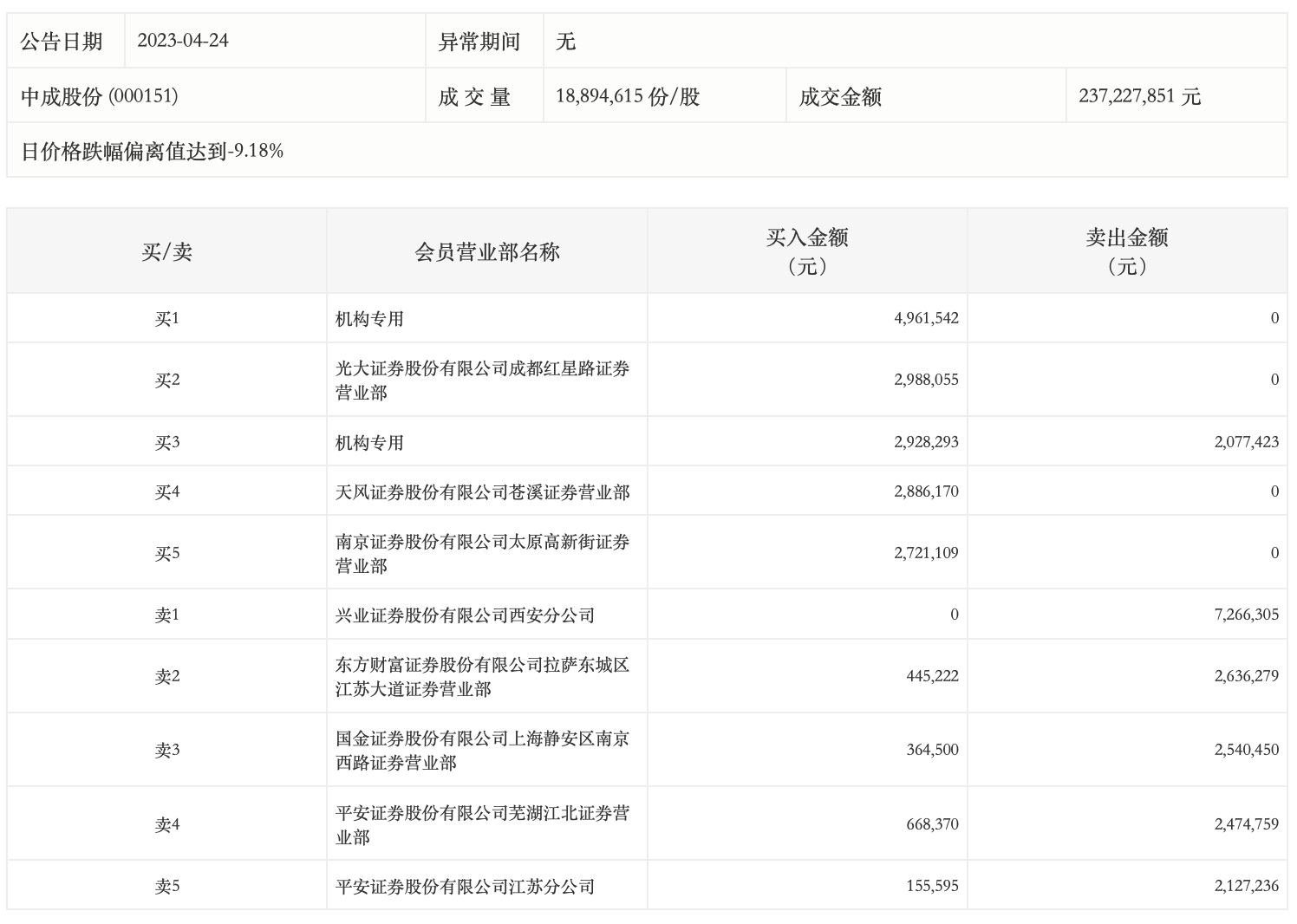
4月24日,中成股份今日跌停,龙虎榜数据显示,上榜营业部席位全天成交3724.13万元,占当日总成交金额比例为15.7%。其中,买入金额为1811.89万元,卖出金额为1912.25万元,合计净卖出100.36万元。

具体来看,机构买入788.98万元,卖出207.74万元,合计净买入581.24万元。此外,兴业证券西安分公司、东方财富证券拉萨东城区江苏大道证券营业部分别卖出726.63万元、263.63万元;光大证券成都红星路证券营业部、天风证券苍溪证券营业部分别买入298.81万元、288.62万元。