中成股份:2024年上半年亏损1.04亿元

中证智能财讯 中成股份(000151)8月28日披露2024年半年报。2024年上半年,公司实现营业总收入6.73亿元,同比下降57.29%;归母净利润亏损1.04亿元,上年同期亏损3490.91万元;扣非净利润亏损1.04亿元,上年同期亏损3910.55万元;经营活动产生的现金流量净额为2.06亿元,同比下降34.49%;报告期内,中成股份基本每股收益为-0.3074元,加权平均净资产收益率为-16.98%。
公告称,公司营业收入变化主要由于本期公司部分在施项目进入尾期按进度确认收入、成本减少。


以8月27日收盘价计算,中成股份目前市盈率(TTM)约为-8.89倍,市净率(LF)约为5.28倍,市销率(TTM)约为1.36倍。

公司近年市盈率(TTM)、市净率(LF)、市销率(TTM)历史分位图如下所示:



根据半年报,公司第二季度实现营业总收入2.0亿元,同比下降49.32%,环比下降57.76%;归母净利润-6590.46万元,同比下降4856.90%,环比下降74.37%;扣非净利润-6627.9万元,同比下降2863.92%,环比下降75.01%。

资料显示,公司主要业务有成套设备出口和工程承包、环境科技、复合材料生产。
分产品来看,2024年上半年公司主营业务中,成套设备出口和工程承包收入4.1亿元,同比下降66.99%,占营业收入的61.02%;环境科技收入1.63亿元,同比下降41.44%,占营业收入的24.21%;复合材料生产收入9850.47万元,同比增长88.16%,占营业收入的14.64%。

2024年上半年,公司毛利率为3.40%,同比下降4.02个百分点;净利率为-22.46%,较上年同期下降20.30个百分点。从单季度指标来看,2024年第二季度公司毛利率为-2.87%,同比下降16.54个百分点,环比下降8.92个百分点;净利率为-50.37%,较上年同期下降50.48个百分点,较上一季度下降39.70个百分点。

分产品来看,成套设备出口和工程承包、环境科技、复合材料生产2024年毛利率分别为-0.11%、-1.24%、25.82%。

数据显示,2024年上半年公司加权平均净资产收益率为-16.98%,较上年同期下降12.4个百分点;公司2024年上半年投入资本回报率为-8.65%,较上年同期下降8.20个百分点。

2024年上半年,公司经营活动现金流净额为2.06亿元,同比下降34.49%,主要系本期公司经营现金流入降幅大于流出降幅所致;筹资活动现金流净额-2.05亿元,同比减少2666.80万元;投资活动现金流净额-11.75万元,上年同期为-256.59万元。
进一步统计发现,2024年上半年公司自由现金流为-9557.96万元,上年同期为26860.00万元。

2024年上半年,公司营业收入现金比为177.92%,净现比为-198.96%。

营运能力方面,2024年上半年,公司公司总资产周转率为0.22次,上年同期为0.36次(2023年上半年行业平均值为0.79次,公司位居同行业12/14);固定资产周转率为10.33次;公司应收账款周转率、存货周转率分别为3.31次、4.52次。

2024年上半年,公司期间费用为1.41亿元,较上年同期减少2208.06万元;但期间费用率为21.03%,较上年同期上升10.65个百分点。其中,销售费用同比下降6.31%,管理费用同比下降17.29%,研发费用同比增长118.74%,财务费用同比下降82.65%。
资料显示,财务费用的变动主要因为本期公司利息费用减少。

资产重大变化方面,截至2024年上半年末,公司其他应收款(含利息和股利)较上年末减少80.12%,占公司总资产比重下降4.60个百分点;长期应收款较上年末减少57.33%,占公司总资产比重下降4.51个百分点;合同资产较上年末增加7.58%,占公司总资产比重上升3.30个百分点;应收账款较上年末减少42.25%,占公司总资产比重下降2.68个百分点。

负债重大变化方面,截至2024年上半年末,公司短期借款较上年末减少17.57%,占公司总资产比重下降1.63个百分点;合同负债较上年末减少18.75%,占公司总资产比重下降0.84个百分点;应付账款较上年末减少3.35%,占公司总资产比重上升2.81个百分点;租赁负债较上年末增加78.83%,占公司总资产比重上升0.71个百分点。

从存货变动来看,截至2024年上半年末,公司存货账面价值为1.6亿元,占净资产的28.67%。根据财报,公司本期没有计提存货跌价准备。

在偿债能力方面,公司2024年上半年末资产负债率为75.93%,相比上年末上升1.71个百分点;有息资产负债率为25.62%,相比上年末下降1.49个百分点。

2024年上半年,公司流动比率为1.14,速动比率为1.07。

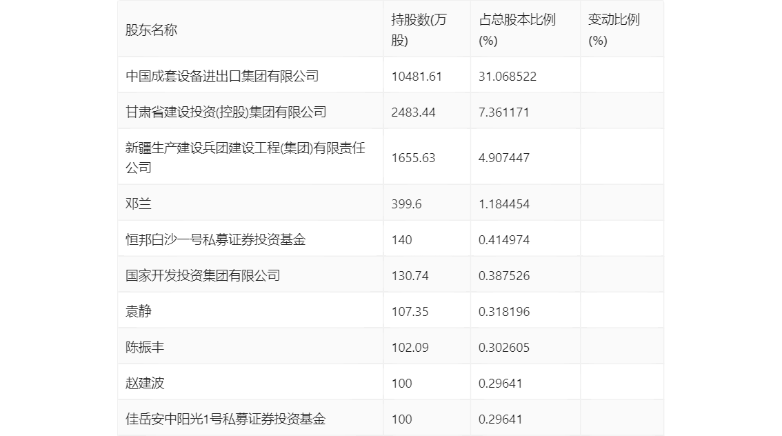
半年报显示,2024年上半年末公司十大流通股东中,新进股东为甘肃省建设投资(控股)集团有限公司、新疆生产建设兵团建设工程(集团)有限责任公司、恒邦白沙一号私募证券投资基金、袁静、陈振丰、佳岳安中阳光1号私募证券投资基金,取代了一季度末的MORGAN STANLEY & CO. INTERNATIONAL PLC.、BARCLAYS BANK PLC、邓建宇、邱东、陈芹、叶守定。在具体持股比例上,邓兰、赵建波持股有所上升。

筹码集中度方面,截至2024年上半年末,公司股东总户数为3.51万户,较一季度末下降了5055户,降幅12.58%;户均持股市值由一季度末的8.73万元上升至9.93万元,增幅为13.75%。

指标注解:
市盈率
=总市值/净利润。当公司亏损时市盈率为负,此时用市盈率估值没有实际意义,往往用市净率或市销率做参考。
市净率
=总市值/净资产。市净率估值法多用于盈利波动较大而净资产相对稳定的公司。
市销率
=总市值/营业收入。市销率估值法通常用于亏损或微利的成长型公司。
文中市盈率和市销率采用TTM方式,即以截至最近一期财报(含预报)12个月的数据计算。市净率采用LF方式,即以最近一期财报数据计算。
市盈率为负时,不显示当期分位数,会导致折线图中断。