渤海租赁:2023年扭亏 有息资产负债率居高不下

中证智能财讯 渤海租赁(000415)4月2日披露2023年年报。2023年,公司实现营业总收入336.75亿元,同比增长5.49%;归母净利润12.81亿元,同比扭亏;扣非净利润2.23亿元,同比扭亏;经营活动产生的现金流量净额为256.01亿元,同比增长21.84%;报告期内,渤海租赁基本每股收益为0.2072元,加权平均净资产收益率为4.47%。
报告期内,公司合计非经常性损益为10.58亿元,其中债务重组损益为13.10亿元。
值得注意的是,公司资产负债率2023年为82.56%、有息资产负债率为74.05%,常年居高不下,2023年期间费用107.44亿元,其中财务费用89.95亿元,占比83.72%。此外,公司商誉达到90.42亿元,相当于同期公司净资产296.02亿元的30.54%。


以4月1日收盘价计算,渤海租赁目前市盈率(TTM)约为11.49倍,市净率(LF)约为0.5倍,市销率(TTM)约为0.44倍。

公司近年市盈率(TTM)、市净率(LF)、市销率(TTM)历史分位图如下所示:



数据统计显示,渤海租赁近三年营业总收入复合增长率为7.09%,在多元金融行业已披露2023年数据的11家公司中排名第7。近三年净利润复合年增长率为29.39%,排名4/11。

资料显示,公司主营业务为租赁业,主要为境内外客户提供全方位的飞机租赁、集装箱租赁、基础设施租赁、大型设备租赁等租赁服务,包括经营租赁和融资租赁两大经营模式。
分产品来看,2023年公司主营业务中,经营租赁收入240.11亿元,同比增长16.75%,占营业收入的71.30%;飞机销售收入78.65亿元,同比下降15.71%,占营业收入的23.36%;集装箱销售收入10.00亿元,同比下降17.79%,占营业收入的2.97%。

2023年,公司毛利率为43.48%,同比上升5.93个百分点;净利率为5.40%,较上年同期上升12.83个百分点。从单季度指标来看,2023年第四季度公司毛利率为41.01%,同比上升10.33个百分点,环比上升5.82个百分点;净利率为6.71%,较上年同期上升28.97个百分点,较上一季度上升1.25个百分点。

分产品看,经营租赁、飞机销售、集装箱销售2023年毛利率分别为55.61%、7.11%、21.61%。

报告期内,公司前五大客户合计销售金额96.93亿元,占总销售金额比例为28.79%,公司前五名供应商合计采购金额169.53亿元,占年度采购总额比例为78.73%。


数据显示,2023年公司加权平均净资产收益率为4.47%,较上年同期增长11.92个百分点;公司2023年投入资本回报率为3.22%,较上年同期增长0.66个百分点。

2023年,公司经营活动现金流净额为256.01亿元,同比增长21.84%;筹资活动现金流净额-194.78亿元,同比减少71.56亿元;投资活动现金流净额-62.67亿元,上年同期为-90.11亿元。
进一步统计发现,2023年公司自由现金流为-7.97亿元,上年同期为20.71亿元。

2023年,公司营业收入现金比为85.32%,净现比为1998.10%。

营运能力方面,2023年,公司公司总资产周转率为0.13次,上年同期为0.12次(2022年行业平均值为0.15次,公司位居同行业19/33);公司应收账款周转率、存货周转率分别为17.88次、178.90次。

2023年,公司期间费用为107.44亿元,较上年同期增加8.04亿元;期间费用率为31.90%,较上年同期上升0.76个百分点。其中,销售费用同比增长9.39%,管理费用同比增长14.81%,财务费用同比增长6.95%。

资产重大变化方面,截至2023年年末,公司其他非流动资产较上年末减少25.11%,占公司总资产比重下降2.34个百分点;固定资产较上年末增加1.52%,占公司总资产比重上升1.78个百分点;持有待售资产较上年末增加1762.86%,占公司总资产比重上升0.97个百分点;长期应收款较上年末减少10.24%,占公司总资产比重下降0.36个百分点。

负债重大变化方面,截至2023年年末,公司应付债券较上年末减少15.58%,占公司总资产比重下降5.98个百分点;一年内到期的非流动负债较上年末增加45.06%,占公司总资产比重上升5.23个百分点;长期借款较上年末减少3.00%,占公司总资产比重下降0.53个百分点;其他应付款(含利息和股利)较上年末减少35.06%,占公司总资产比重下降0.29个百分点。

2023年,渤海租赁的商誉达到90.42亿元,相当于同期公司净资产296.02亿元的30.54%。
在偿债能力方面,公司2023年年末资产负债率为82.56%,相比上年末下降1.03个百分点;有息资产负债率为74.01%,相比上年末下降1.70个百分点。

2023年,公司流动比率为0.31,速动比率为0.30。

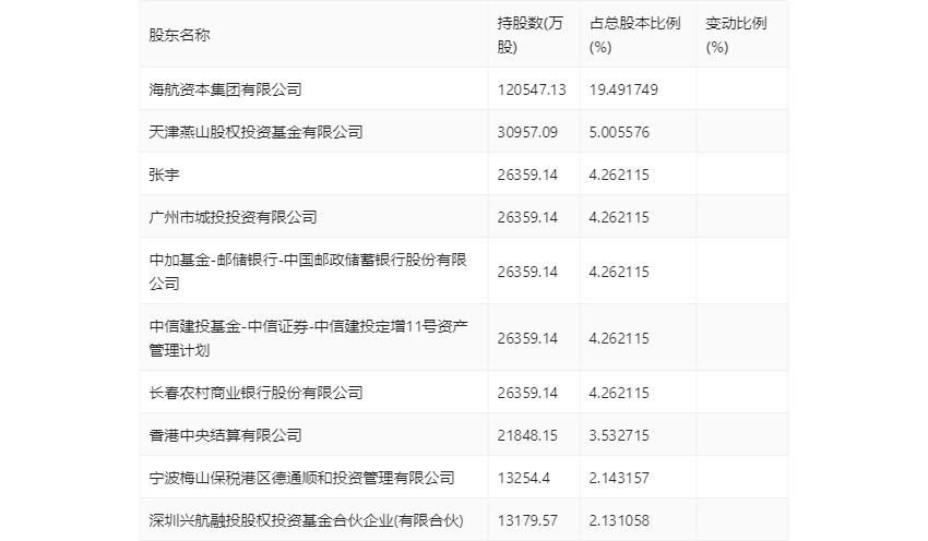
年报显示,2023年年末公司十大流通股东中,新进股东为张宇,取代了三季度末的张沐城。在具体持股比例上,香港中央结算有限公司、深圳兴航融投股权投资基金合伙企业(有限合伙)持股有所下降。

值得注意的是,根据年报数据,渤海租赁34.31%股份处于质押状态。其中,第一大股东海航资本集团有限公司质押17.26亿股公司股份,占其全部持股的99.59%。
筹码集中度方面,截至2023年年末,公司股东总户数为7.54万户,较三季度末增长了2352户,增幅3.22%;户均持股市值由三季度末的21.66万元下降至17.55万元,降幅为18.98%。

指标注解:
市盈率
=总市值/净利润。当公司亏损时市盈率为负,此时用市盈率估值没有实际意义,往往用市净率或市销率做参考。
市净率
=总市值/净资产。市净率估值法多用于盈利波动较大而净资产相对稳定的公司。
市销率
=总市值/营业收入。市销率估值法通常用于亏损或微利的成长型公司。
文中市盈率和市销率采用TTM方式,即以截至最近一期财报(含预报)12个月的数据计算。市净率采用LF方式,即以最近一期财报数据计算。
市盈率为负时,不显示当期分位数,会导致折线图中断。