渤海租赁:2024年第一季度净利润3.89亿元 同比增长58.21%

中证智能财讯 渤海租赁(000415)4月30日披露2024年一季报。2024年第一季度,公司实现营业总收入85.66亿元,同比增长31.58%;归母净利润3.89亿元,同比增长58.21%;扣非净利润2.14亿元,同比增长215.29%;经营活动产生的现金流量净额为56.24亿元,同比增长1.73%;报告期内,渤海租赁基本每股收益为0.0629元,加权平均净资产收益率为1.30%。


2024年第一季度,公司毛利率为42.42%,同比下降7.82个百分点;净利率为7.47%,较上年同期上升1.74个百分点。

数据显示,2024年第一季度公司加权平均净资产收益率为1.30%,较上年同期增长0.41个百分点;公司2024年第一季度投入资本回报率为0.97%,较上年同期增长0.18个百分点。

2024年第一季度,公司经营活动现金流净额为56.24亿元,同比增长1.73%;筹资活动现金流净额-38.62亿元,同比增加32.17亿元;投资活动现金流净额-40.62亿元,上年同期为-1.87亿元。

2024年第一季度,公司营业收入现金比为76.57%,净现比为1446.96%。

资产重大变化方面,截至2024年一季度末,公司货币资金较上年末减少33.75%,占公司总资产比重下降0.95个百分点;其他非流动资产较上年末增加7.74%,占公司总资产比重上升0.55个百分点;持有待售资产较上年末减少38.34%,占公司总资产比重下降0.39个百分点;长期应收款较上年末增加10.53%,占公司总资产比重上升0.36个百分点。

负债重大变化方面,截至2024年一季度末,公司一年内到期的非流动负债较上年末减少9.10%,占公司总资产比重下降1.50个百分点;应付债券较上年末增加2.52%,占公司总资产比重上升0.86个百分点;其他流动负债较上年末增加124.54%,占公司总资产比重上升0.49个百分点;长期借款较上年末增加1.46%,占公司总资产比重上升0.34个百分点。

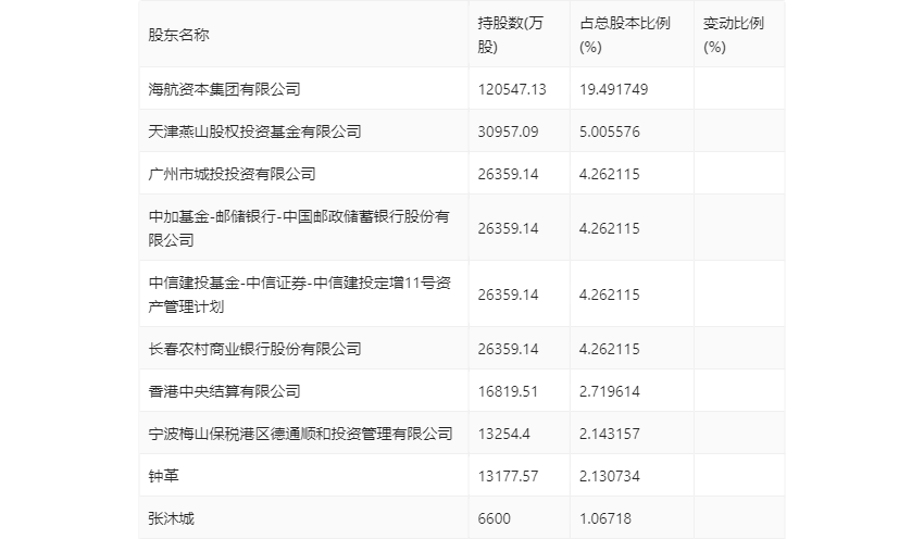
一季报显示,2024年一季度末公司十大流通股东中,新进股东为钟革、张沐城,取代了上年末的张宇、深圳兴航融投股权投资基金合伙企业(有限合伙)。在具体持股比例上,香港中央结算有限公司持股有所下降。

筹码集中度方面,截至2024年一季度末,公司股东总户数为8.15万户,较上年末增长了6116户,增幅8.11%;户均持股市值由上年末的17.55万元下降至16.84万元,降幅为4.05%。
