武商集团:2023年净利同比下降30.72% 拟10派0.5元

中证智能财讯 武商集团(000501)3月30日披露2023年年报。2023年,公司实现营业总收入71.78亿元,同比增长13.26%;归母净利润2.09亿元,同比下降30.72%;扣非净利润8274.09万元,同比下降70.51%;经营活动产生的现金流量净额为24.05亿元,同比增长285.76%;报告期内,武商集团基本每股收益为0.27元,加权平均净资产收益率为1.91%。公司2023年年度利润分配预案为:拟向全体股东每10股派0.5元(含税)。
报告期内,公司合计非经常性损益为1.26亿元,其中非流动性资产处置损益为1.20亿元。


以3月29日收盘价计算,武商集团目前市盈率(TTM)约为27.22倍,市净率(LF)约为0.52倍,市销率(TTM)约为0.79倍。

公司近年市盈率(TTM)、市净率(LF)、市销率(TTM)历史分位图如下所示:



数据统计显示,武商集团近三年营业总收入复合增长率为-2.06%,在百货行业已披露2023年数据的9家公司中排名第6。近三年净利润复合年增长率为-27.45%,排名6/9。

资料显示,公司是国内著名的大型商业零售企业之一,主要从事购物中心及超市业态的商品销售业务。
分产品来看,2023年公司主营业务中,商品零售业务收入62.06亿元,同比增长11.52%,占营业收入的86.46%;房地产业务收入0.80亿元,同比下降7.37%,占营业收入的1.12%。

2023年,公司毛利率为47.03%,同比上升2.28个百分点;净利率为2.91%,较上年同期下降1.85个百分点。从单季度指标来看,2023年第四季度公司毛利率为47.82%,同比上升1.38个百分点,环比上升1.21个百分点;净利率为5.21%,较上年同期上升7.24个百分点,较上一季度上升5.12个百分点。

分产品看,商品零售业务、房地产业务2023年毛利率分别为39.99%、4.48%。

数据显示,2023年公司加权平均净资产收益率为1.91%,较上年同期下降0.89个百分点;公司2023年投入资本回报率为1.93%,较上年同期下降0.08个百分点。

2023年,公司经营活动现金流净额为24.05亿元,同比增长285.76%;筹资活动现金流净额-3.16亿元,同比减少22.50亿元;投资活动现金流净额-13.17亿元,上年同期为-24.59亿元。
进一步统计发现,2023年公司自由现金流为6.37亿元,上年同期为-9.90亿元。

2023年,公司营业收入现金比为259.62%,净现比为1150.43%。

营运能力方面,2023年,公司公司总资产周转率为0.23次,上年同期为0.22次(2022年行业平均值为0.23次,公司位居同行业11/23);固定资产周转率为0.49次,上年同期为0.63次(2022年行业平均值为1.39次,公司位居同行业20/23);公司应收账款周转率、存货周转率分别为120.43次、2.08次。

2023年,公司期间费用为29.43亿元,同比增长7.13亿元;期间费用率为41%,同比增长5.81个百分点。其中,销售费用同比增长28.64%,管理费用同比下降10.12%,财务费用同比增长158.26%。

资产重大变化方面,截至2023年年末,公司在建工程较上年末减少71.73%,占公司总资产比重下降4.32个百分点;固定资产较上年末增加12.45%,占公司总资产比重上升4.19个百分点;货币资金较上年末增加34.06%,占公司总资产比重上升2.25个百分点;无形资产较上年末减少2.45%,占公司总资产比重下降1.24个百分点。

负债重大变化方面,截至2023年年末,公司应付账款较上年末增加32.50%,占公司总资产比重上升1.59个百分点;应付债券较上年末增加67.86%,占公司总资产比重上升1.14个百分点;一年内到期的非流动负债较上年末减少21.74%,占公司总资产比重下降1.31个百分点;长期借款较上年末增加4.78%,占公司总资产比重上升0.31个百分点。

从存货变动来看,截至2023年末,公司存货账面价值为17.38亿元,占净资产的15.75%,较上年末减少1.72亿元。公司本期没有计提存货跌价准备。

在偿债能力方面,公司2023年年末资产负债率为65.31%,相比上年末上升0.35个百分点;有息资产负债率为28.76%,相比上年末下降0.07个百分点。

2023年,公司流动比率为0.43,速动比率为0.30。

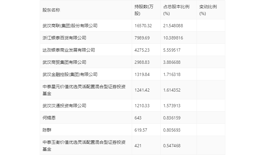
年报显示,2023年年末公司十大流通股东中,新进股东为何锡恩,取代了三季度末的中泰兴为价值精选混合型证券投资基金。在具体持股比例上,中泰星元价值优选灵活配置混合型证券投资基金、中泰玉衡价值优选灵活配置混合型证券投资基金持股有所下降。

筹码集中度方面,截至2023年年末,公司股东总户数为3.57万户,较三季度末增长了565户,增幅1.61%;户均持股市值由三季度末的20.21万元下降至18.34万元,降幅为9.25%。

指标注解:
市盈率
=总市值/净利润。当公司亏损时市盈率为负,此时用市盈率估值没有实际意义,往往用市净率或市销率做参考。
市净率
=总市值/净资产。市净率估值法多用于盈利波动较大而净资产相对稳定的公司。
市销率
=总市值/营业收入。市销率估值法通常用于亏损或微利的成长型公司。
文中市盈率和市销率采用TTM方式,即以截至最近一期财报(含预报)12个月的数据计算。市净率采用LF方式,即以最近一期财报数据计算。
市盈率为负时,不显示当期分位数,会导致折线图中断。