红棉股份:2024年上半年净利润3750.55万元 同比增长170.31%

中证智能财讯 红棉股份(000523)8月27日披露2024年半年度报告。2024年上半年,公司实现营业收入11.12亿元,同比下降23.13%;归母净利润3750.55万元,同比增长170.31%;扣非净利润4330.18万元,同比增长455.52%;经营活动产生的现金流量净额为1.47亿元,同比下降63.38%;报告期内,红棉股份基本每股收益为0.0204元,加权平均净资产收益率为2.64%。

以8月26日收盘价计算,红棉股份目前市盈率(TTM)约为47.53倍,市净率(LF)约为3.24倍,市销率(TTM)约为2.04倍。

公司近年市盈率(TTM)、市净率(LF)、市销率(TTM)历史分位图如下所示:



根据半年报,公司第二季度实现营业总收入5.73亿元,同比下降24.76%,环比增长6.45%;归母净利润1577.4万元,同比增长269.03%,环比下降27.41%;扣非净利润2222.26万元,同比增长354.35%,环比增长5.42%。

资料显示,报告期内,公司的主要业务为食品饮料及文化创意产业园区开发和运营。
2024年上半年,公司毛利率为12.67%,同比下降0.97个百分点;净利率为4.87%,较上年同期上升3.40个百分点。从单季度指标来看,2024年第二季度公司毛利率为13.94%,同比下降0.32个百分点,环比上升2.63个百分点;净利率为4.29%,较上年同期上升3.17个百分点,较上一季度下降1.21个百分点。

数据显示,2024年上半年公司加权平均净资产收益率为2.64%,较上年同期增长1.75个百分点;公司2024年上半年投入资本回报率为2.47%,较上年同期增长2.46个百分点。
2024年上半年,公司经营活动现金流净额为1.47亿元,同比下降63.38%,主要系本报告期内支付原料糖采购款增加所致;筹资活动现金流净额1.31亿元,同比减少2.44亿元,主要系上年同期收到非公开发行募集资金所致;投资活动现金流净额-3485.58万元,上年同期为-7471.49万元,主要系本报告期减少固定资产及长期资产支付的现金所致。
进一步统计发现,2024年上半年公司自由现金流为8615.39万元,相比上年同期下降66.10%。

2024年上半年,公司营业收入现金比为123.73%,净现比为392.35%。

营运能力方面,2024年上半年,公司公司总资产周转率为0.33次,上年同期为0.43次(2023年上半年行业平均值为0.19次,公司位居同行业4/22);固定资产周转率为2.65次,上年同期为1.84次(2023年上半年行业平均值为2.01次,公司位居同行业9/22);公司应收账款周转率、存货周转率分别为4.88次、5.91次。

2024年上半年,公司期间费用为8320.72万元,较上年同期减少6917.27万元;期间费用率为7.48%,较上年同期下降3.06个百分点。其中,销售费用同比下降36.3%,管理费用同比下降41.65%,研发费用同比下降83.91%,财务费用同比下降57.21%。
资料显示,销售费用的变动主要因为财务费用的变动主要因为上年同期含有置出前日化板块的费用,同时本期利息收入同比增加。

资产重大变化方面,截至2024年上半年末,公司货币资金较上年末增加13.73%,占公司总资产比重上升2.05个百分点;固定资产较上年末减少4.10%,占公司总资产比重下降1.47个百分点;应收账款较上年末减少7.88%,占公司总资产比重下降1.07个百分点;长期待摊费用较上年末减少3.54%,占公司总资产比重下降0.83个百分点。

负债重大变化方面,截至2024年上半年末,公司短期借款较上年末增加480.81%,占公司总资产比重上升2.75个百分点,主要系本报告期内增加银行贷款;租赁负债较上年末增加9.98%,占公司总资产比重上升0.32个百分点;应付账款较上年末增加30.39%,占公司总资产比重上升0.68个百分点;一年内到期的非流动负债较上年末增加13.74%,占公司总资产比重上升0.17个百分点。

从存货变动来看,截至2024年上半年末,公司存货账面价值为1.82亿元,占净资产的12.61%,较上年末增加3590.58万元。其中,存货跌价准备为1.69万元,计提比例为0.01%。

在偿债能力方面,公司2024年上半年末资产负债率为53.23%,相比上年末上升1.71个百分点;有息资产负债率为8.76%,相比上年末上升2.76个百分点。

2024年上半年,公司流动比率为3.36,速动比率为3.04。

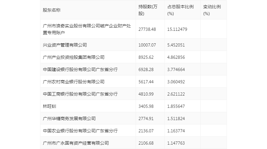
半年报显示,2024年上半年末公司十大流通股东中,持股最多的为广州市浪奇实业股份有限公司破产企业财产处置专用账户,占比15.11%。十大流通股东名单相比2024年一季报维持不变。在具体持股比例上,广州农村商业银行股份有限公司持股有所下降。

筹码集中度方面,截至2024年上半年末,公司股东总户数为3.54万户,较一季度末下降了3211户,降幅8.32%;户均持股市值由一季度末的15.31万元下降至13.43万元,降幅为12.28%。

指标注解:
市盈率
=总市值/净利润。当公司亏损时市盈率为负,此时用市盈率估值没有实际意义,往往用市净率或市销率做参考。
市净率
=总市值/净资产。市净率估值法多用于盈利波动较大而净资产相对稳定的公司。
市销率
=总市值/营业收入。市销率估值法通常用于亏损或微利的成长型公司。
文中市盈率和市销率采用TTM方式,即以截至最近一期财报(含预报)12个月的数据计算。市净率采用LF方式,即以最近一期财报数据计算。
市盈率为负时,不显示当期分位数,会导致折线图中断。