万泽股份:2024年第一季度净利润6576.82万元 同比增长12.41%

中证智能财讯 万泽股份(000534)4月29日披露2024年一季报。2024年第一季度,公司实现营业总收入2.90亿元,同比增长3.20%;归母净利润6576.82万元,同比增长12.41%;扣非净利润6327.01万元,同比增长15.41%;经营活动产生的现金流量净额为-1667.40万元,上年同期为-1019.01万元;报告期内,万泽股份基本每股收益为0.1317元,加权平均净资产收益率为5.53%。


2024年第一季度,公司毛利率为78.68%,同比下降1.45个百分点;净利率为21.59%,较上年同期上升1.26个百分点。

数据显示,2024年第一季度公司加权平均净资产收益率为5.53%,较上年同期增长0.77个百分点;公司2024年第一季度投入资本回报率为2.84%,较上年同期下降0.34个百分点。

2024年第一季度,公司经营活动现金流净额为-1667.40万元,同比减少648.39万元;筹资活动现金流净额2832.33万元,同比增加5156.13万元;投资活动现金流净额-4508.22万元,上年同期为-3453.96万元。

2024年第一季度,公司营业收入现金比为80.00%,净现比为-25.35%。

资产重大变化方面,截至2024年一季度末,公司应收账款较上年末增加21.72%,占公司总资产比重上升1.72个百分点;货币资金较上年末减少12.89%,占公司总资产比重下降1.36个百分点;固定资产较上年末减少0.98%,占公司总资产比重下降1.23个百分点;无形资产较上年末减少1.58%,占公司总资产比重下降0.63个百分点。

负债重大变化方面,截至2024年一季度末,公司长期借款较上年末增加14.66%,占公司总资产比重上升2.41个百分点;应付账款较上年末减少16.67%,占公司总资产比重下降1.96个百分点;短期借款较上年末增加19.26%,占公司总资产比重上升1.18个百分点;长期应付款合计较上年末增加37.60%,占公司总资产比重上升1.22个百分点。

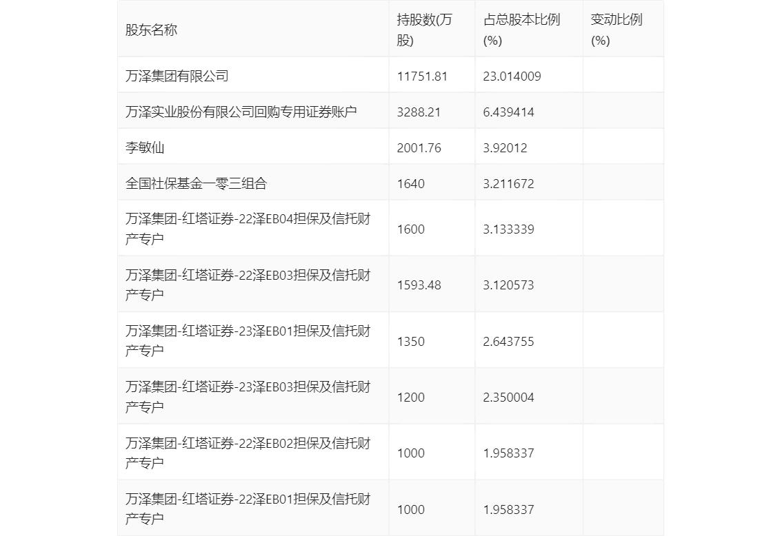
一季报显示,2024年一季度末公司十大流通股东中,持股最多的为万泽集团有限公司,占比23.01%。十大流通股东名单相比2023年年报维持不变。在具体持股比例上,万泽集团有限公司、万泽实业股份有限公司回购专用证券账户、全国社保基金一零三组合持股有所上升,李敏仙、万泽集团-红塔证券-22泽EB04担保及信托财产专户、万泽集团-红塔证券-22泽EB03担保及信托财产专户、万泽集团-红塔证券-23泽EB01担保及信托财产专户、万泽集团-红塔证券-23泽EB03担保及信托财产专户、万泽集团-红塔证券-22泽EB02担保及信托财产专户、万泽集团-红塔证券-22泽EB01担保及信托财产专户持股有所下降。

筹码集中度方面,截至2024年一季度末,公司股东总户数为2.19万户,较上年末增长了1933户,增幅9.68%;户均持股市值由上年末的33.37万元下降至29.12万元,降幅为12.74%。
