龙虎榜丨华映科技今日涨停,知名游资宁波桑田路净买入563.67万元

http://ddx.gubit.cn  2023-08-31 19:14  华映科技(000536)公司分析

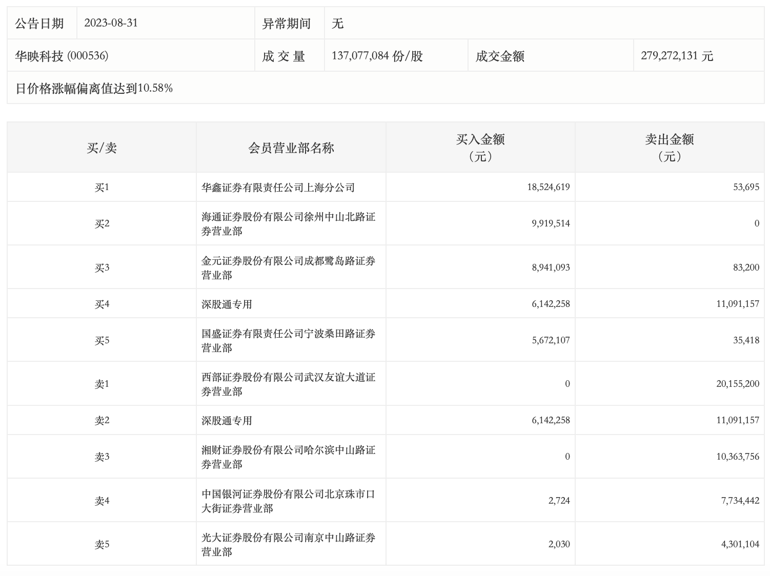
8月31日,华映科技今日涨停,龙虎榜数据显示,上榜营业部席位全天成交1.03亿元,占当日总成交金额比例为36.89%。其中,买入金额为4920.43万元,卖出金额为5381.8万元,合计净卖出461.36万元。

具体来看,知名游资现身龙虎榜,宁波桑田路(国盛证券有限责任公司宁波桑田路证券营业部)净买入563.67万元。此外,华鑫证券上海分公司、海通证券徐州中山北路证券营业部分别买入1852.46万元、991.95万元;西部证券武汉友谊大道证券营业部、深股通专用分别卖出2015.52万元、1109.12万元。