龙虎榜丨华映科技今日跌8.78%,上榜营业部席位合计净卖出1.59亿元

http://ddx.gubit.cn  2023-09-11 20:38  华映科技(000536)公司分析

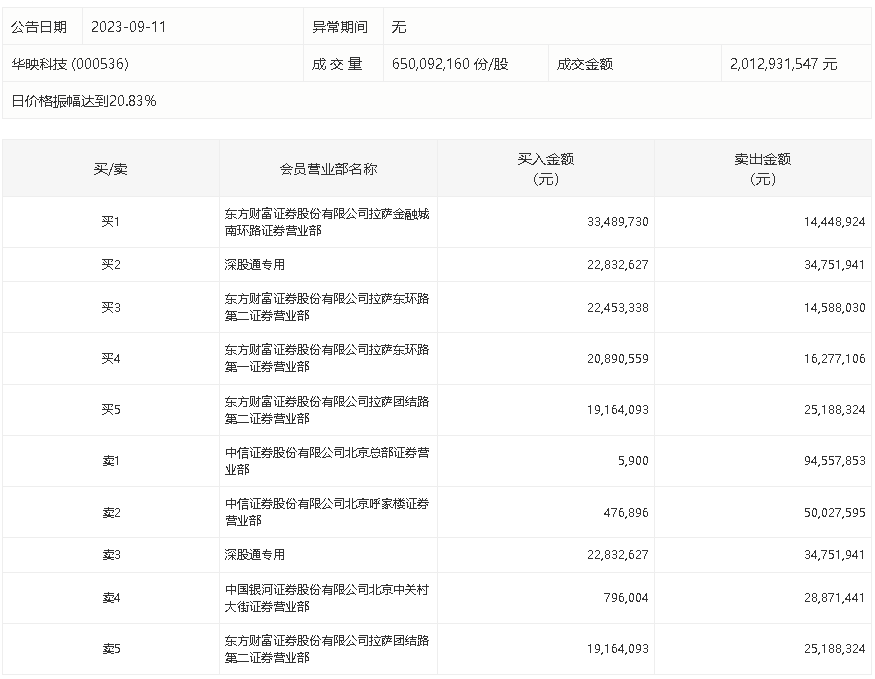
9月11日,华映科技今日跌8.78%,龙虎榜数据显示,上榜营业部席位全天成交3.99亿元,占当日总成交金额比例为19.81%。其中,买入金额为1.2亿元,卖出金额为2.79亿元,合计净卖出1.59亿元。

具体来看,中信证券北京总部证券营业部、中信证券北京呼家楼证券营业部分别卖出9455.79万元、5002.76万元;东方财富证券拉萨金融城南环路证券营业部、深股通专用分别买入3348.97万元、2283.26万元。