龙虎榜丨华映科技今日涨停,营业部席位合计净卖出4705.88万元

http://ddx.gubit.cn  2023-09-28 22:22  华映科技(000536)公司分析

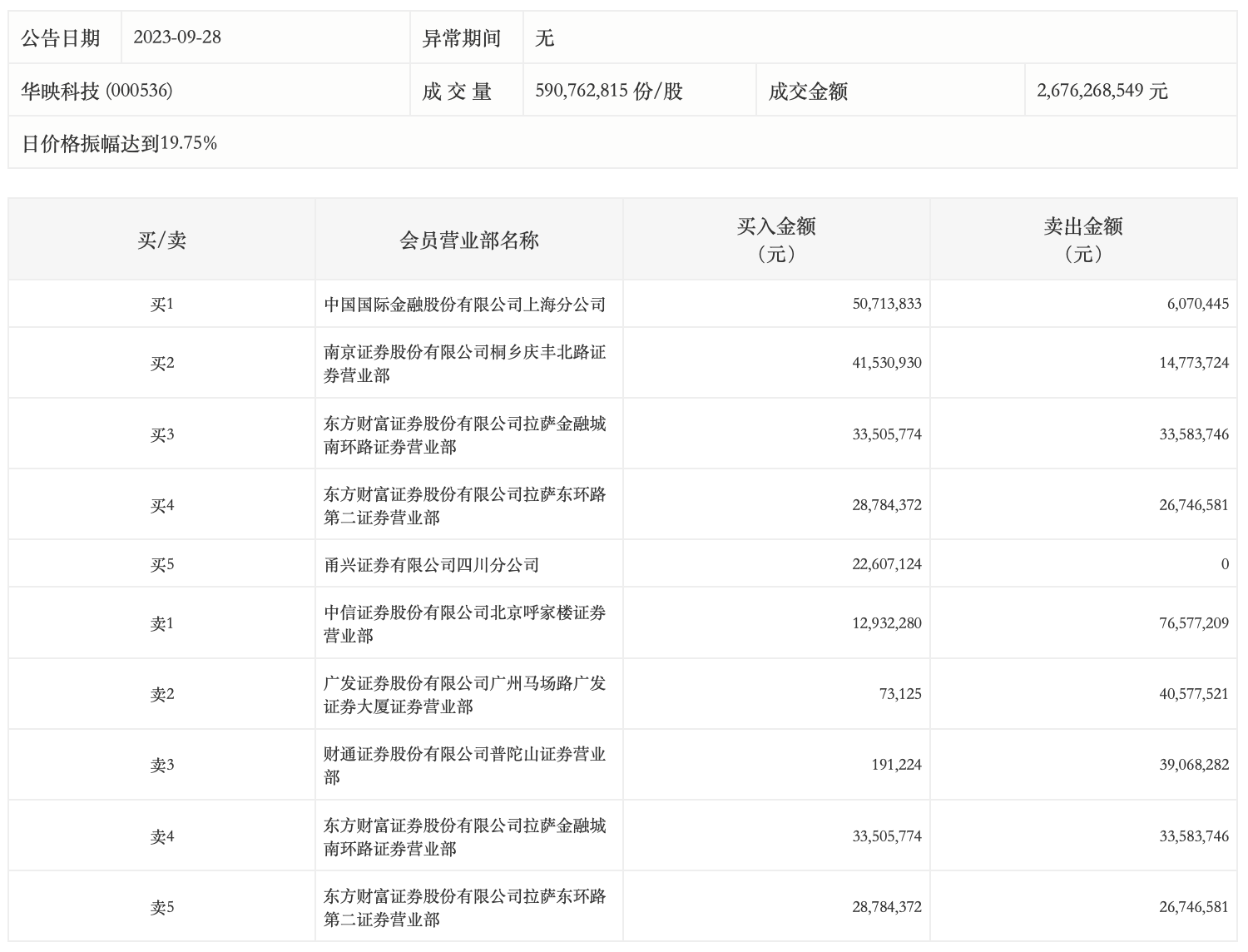
9月28日,华映科技今日涨停,全天换手率达21.38%,振幅达18.16%。龙虎榜数据显示,营业部席位合计净卖出4705.88万元。其中,中国国际金融上海分公司、南京证券桐乡庆丰北路证券营业部分别买入5071.38万元、4153.09万元;中信证券北京呼家楼证券营业部、广发证券广州马场路广发证券大厦证券营业部分别卖出7657.72万元、4057.75万元。