龙虎榜丨华映科技今日涨停,知名游资章盟主净卖出2840.59万元

查股网  2024-11-06 21:04  华映科技(000536)个股分析

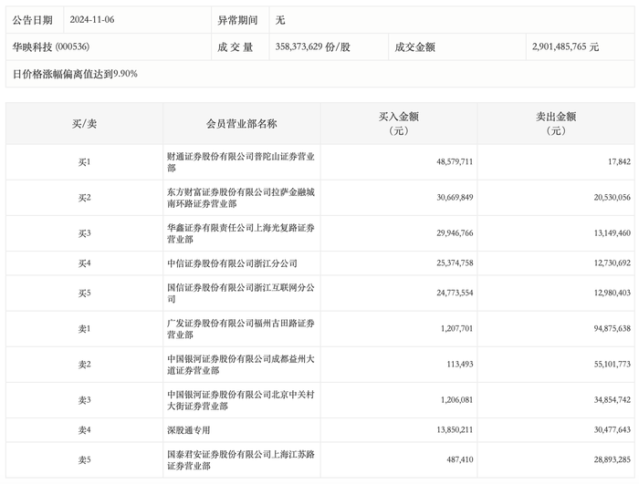
11月6日,华映科技今日涨停,龙虎榜数据显示,上榜营业部席位全天成交4.8亿元,占当日总成交金额比例为16.54%。其中,买入金额为1.76亿元,卖出金额为3.04亿元,合计净卖出1.27亿元。

具体来看,知名游资现身龙虎榜,章盟主(国泰君安证券股份有限公司上海江苏路证券营业部)净卖出2840.59万元。此外,财通证券普陀山证券营业部、东方财富证券拉萨金融城南环路证券营业部分别买入4857.97万元、3066.98万元;广发证券福州古田路证券营业部、中国银河证券成都益州大道证券营业部分别卖出9487.56万元、5510.18万元。