云南白药:2024年第一季度净利润17.02亿元 同比增长12.12%

中证智能财讯 云南白药(000538)4月27日披露2024年一季报。2024年第一季度,公司实现营业总收入107.74亿元,同比增长2.49%;归母净利润17.02亿元,同比增长12.12%;扣非净利润16.90亿元,同比增长20.51%;经营活动产生的现金流量净额为5.27亿元,同比下降28.17%;报告期内,云南白药基本每股收益为0.95元,加权平均净资产收益率为4.18%。


2024年第一季度,公司毛利率为29.98%,同比上升2.56个百分点;净利率为15.77%,较上年同期上升1.35个百分点。

数据显示,2024年第一季度公司加权平均净资产收益率为4.18%,较上年同期增长0.31个百分点;公司2024年第一季度投入资本回报率为3.83%,较上年同期增长0.27个百分点。

2024年第一季度,公司经营活动现金流净额为5.27亿元,同比下降28.17%,主要系报告期内购买商品、接受劳务支付的现金,以及支付给职工以及为职工支付的现金增加所致;筹资活动现金流净额7.90亿元,同比增加6.59亿元,主要系报告期内取得借款收到的现金增加所致;投资活动现金流净额12.65亿元,上年同期为-3.16亿元,主要系报告期内收到其他与投资活动有关的现金增加所致。

2024年第一季度,公司营业收入现金比为93.13%,净现比为30.97%。

资产重大变化方面,截至2024年一季度末,公司货币资金较上年末增加18.12%,占公司总资产比重上升3.09个百分点;其他流动资产较上年末减少40.59%,占公司总资产比重下降2.33个百分点;应收账款较上年末增加16.19%,占公司总资产比重上升1.83个百分点;存货较上年末减少4.82%,占公司总资产比重下降1.20个百分点。

负债重大变化方面,截至2024年一季度末,公司其他流动负债较上年末增加214.46%,占公司总资产比重上升1.96个百分点;应付账款较上年末增加5.70%,占公司总资产比重下降0.01个百分点;其他应付款(含利息和股利)较上年末增加23.68%,占公司总资产比重上升0.32个百分点;应付职工薪酬较上年末减少22.39%,占公司总资产比重下降0.52个百分点。

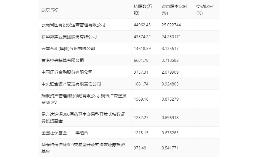
一季报显示,2024年一季度末公司十大流通股东中,新进股东为华泰柏瑞沪深300交易型开放式指数证券投资基金,取代了上年末的江苏鱼跃科技发展有限公司。在具体持股比例上,易方达沪深300医药卫生交易型开放式指数证券投资基金、全国社保基金一一零组合持股有所上升,香港中央结算有限公司、瑞银资产管理(新加坡)有限公司-瑞银卢森堡投资SICAV持股有所下降。

筹码集中度方面,截至2024年一季度末,公司股东总户数为19.26万户,较上年末下降了7233户,降幅3.62%;户均持股市值由上年末的44.20万元上升至47.40万元,增幅为7.24%。
