龙虎榜丨金圆股份今日涨停,深股通专用净买入2706.18万元

查股网  2023-12-06 16:51  金圆股份(000546)个股分析

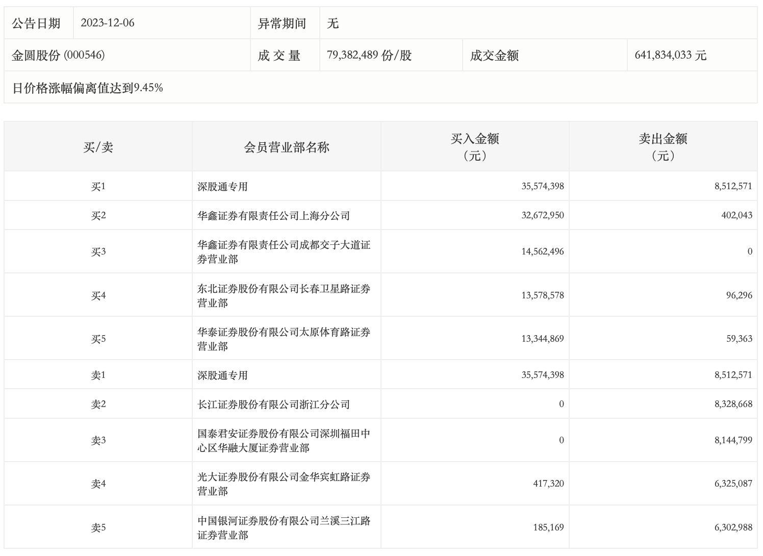
12月6日,金圆股份今日涨停,全天换手率达11.16%,振幅达11.51%。龙虎榜数据显示,营业部席位合计净买入7216.4万元。其中,深股通专用、华鑫证券上海分公司分别买入3557.44万元、3267.30万元;深股通专用、长江证券浙江分公司分别卖出851.26万元、832.87万元。