安道麦A:2023年亏损16.06亿元

中证智能财讯 安道麦A(000553)3月27日披露2023年年报。2023年,公司实现营业总收入327.79亿元,同比下降12.31%;归母净利润亏损16.06亿元,上年同期盈利6.09亿元;扣非净利润亏损18.51亿元,上年同期盈利5.02亿元;经营活动产生的现金流量净额为26.18亿元,同比增长178.28%;报告期内,安道麦A基本每股收益为-0.6893元,加权平均净资产收益率为-7.13%。

以3月26日收盘价计算,安道麦A目前市盈率(TTM)约为-8.53倍,市净率(LF)约为0.62倍,市销率(TTM)约为0.42倍。

公司近年市盈率(TTM)、市净率(LF)、市销率(TTM)历史分位图如下所示:



数据统计显示,安道麦A近三年营业总收入复合增长率为4.84%,近三年净利润复合年增长率为-265.74%。

资料显示,公司主要从事非专利作物保护产品的开发、生产及销售,是全球领先的作物保护公司之一。
分产品来看,2023年公司主营业务中,除草剂收入138.58亿元,同比下降16.50%,占营业收入的42.28%;杀虫剂收入93.92亿元,同比下降7.19%,占营业收入的28.65%;杀菌剂收入67.90亿元,同比下降3.69%,占营业收入的20.72%。


2023年,公司毛利率为20.73%,同比下降4.41个百分点;净利率为-4.90%,较上年同期下降6.53个百分点。从单季度指标来看,2023年第四季度公司毛利率为19.35%,同比下降3.84个百分点,环比上升1.40个百分点;净利率为-6.94%,较上年同期下降5.23个百分点,较上一季度上升3.87个百分点。

报告期内,公司前五大客户合计销售金额29.21亿元,占总销售金额比例为8.85%,公司前五名供应商合计采购金额25.95亿元,占年度采购总额比例为17.73%。

数据显示,2023年公司加权平均净资产收益率为-7.13%,较上年同期下降9.89个百分点;公司2023年投入资本回报率为-1.56%,较上年同期下降4.45个百分点。

2023年,公司经营活动现金流净额为26.18亿元,同比增长178.28%;筹资活动现金流净额3.74亿元,同比增加4.30亿元;投资活动现金流净额-23.88亿元,上年同期为-26.6亿元。
进一步统计发现,2023年公司自由现金流为-10.49亿元,上年同期为-23.27亿元。

2023年,公司营业收入现金比为101.75%,净现比为-163.02%。

营运能力方面,2023年,公司公司总资产周转率为0.58次,上年同期为0.69次(2022年行业平均值为0.72次,公司位居同行业19/32);公司应收账款周转率、存货周转率分别为3.82次、1.73次。

2023年,公司期间费用为69.31亿元,较上年同期增加2.25亿元;期间费用率为21.15%,较上年同期上升3.21个百分点。其中,销售费用同比下降4.28%,管理费用同比下降24.84%,研发费用同比下降16.46%,财务费用同比增长263.15%。

资产重大变化方面,截至2023年年末,公司存货较上年末减少22.68%,占公司总资产比重下降5.57个百分点;固定资产较上年末增加12.15%,占公司总资产比重上升2.68个百分点;货币资金较上年末增加13.76%,占公司总资产比重上升1.41个百分点;衍生金融资产较上年末增加263.60%,占公司总资产比重上升1.13个百分点。

负债重大变化方面,截至2023年年末,公司应付账款较上年末减少38.23%,占公司总资产比重下降4.59个百分点;短期借款较上年末增加71.51%,占公司总资产比重上升4.58个百分点,主要系满足营运资金需求;长期借款较上年末减少21.21%,占公司总资产比重下降1.11个百分点;应付职工薪酬较上年末减少38.21%,占公司总资产比重下降0.83个百分点。

从存货变动来看,截至2023年末,公司存货账面价值为130.89亿元,占净资产的59.7%,较上年末减少38.38亿元。其中,存货跌价准备为4.05亿元,计提比例为3%。

2023年全年,公司研发投入金额为4.83亿元,同比下降16.46%;研发投入占营业收入比例为1.47%,相比上年同期下降0.08个百分点。


在偿债能力方面,公司2023年年末资产负债率为60.43%,相比上年末上升0.31个百分点;有息资产负债率为32.19%,相比上年末上升3.52个百分点。

2023年,公司流动比率为1.57,速动比率为0.88。

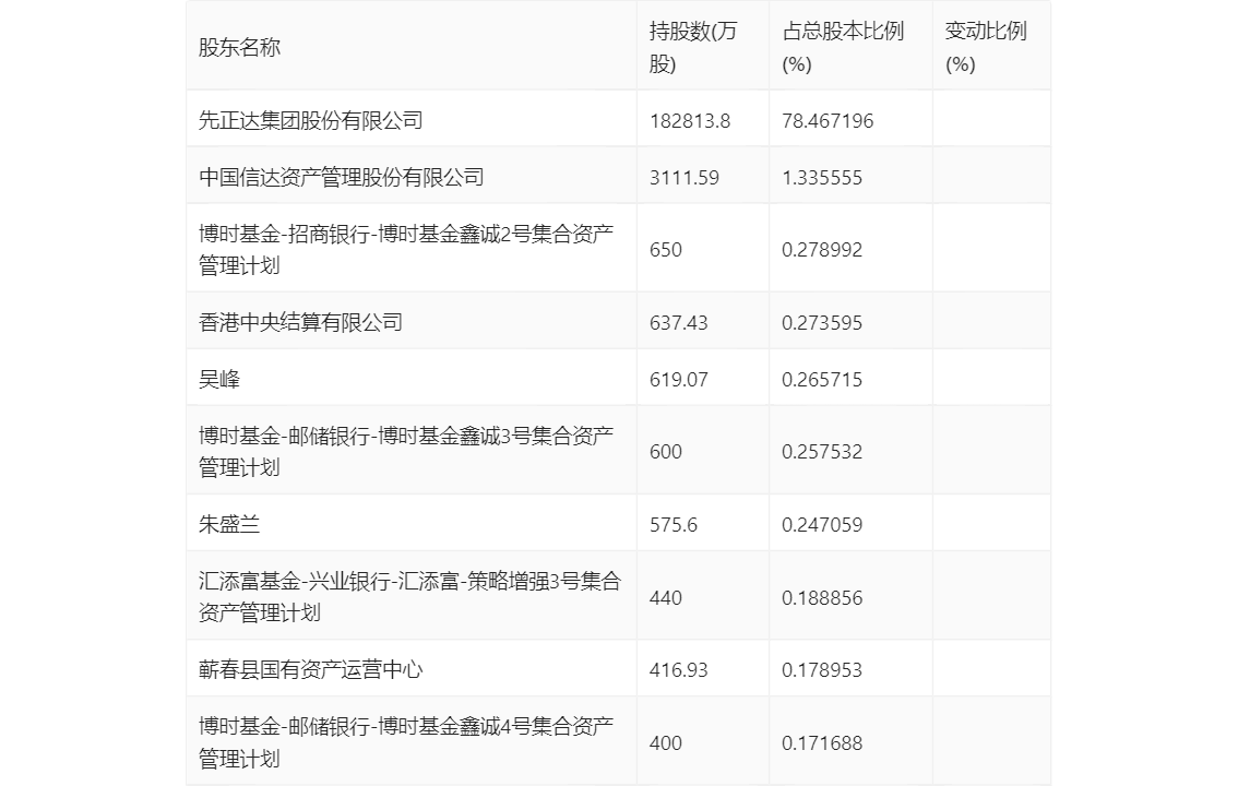
年报显示,2023年年末公司十大流通股东中,持股最多的为先正达集团股份有限公司,占比78.47%。十大流通股东名单相比2023年三季报维持不变。在具体持股比例上,香港中央结算有限公司、吴峰持股有所上升。

筹码集中度方面,截至2023年年末,公司普通A股股东总户数为2.87万户,较三季度末下降了262户,降幅0.91%;户均持股市值由三季度末的43.40万元下降至39.07万元,降幅为9.98%。

指标注解:
市盈率
=总市值/净利润。当公司亏损时市盈率为负,此时用市盈率估值没有实际意义,往往用市净率或市销率做参考。
市净率
=总市值/净资产。市净率估值法多用于盈利波动较大而净资产相对稳定的公司。
市销率
=总市值/营业收入。市销率估值法通常用于亏损或微利的成长型公司。
文中市盈率和市销率采用TTM方式,即以截至最近一期财报(含预报)12个月的数据计算。市净率采用LF方式,即以最近一期财报数据计算。
市盈率为负时,不显示当期分位数,会导致折线图中断。