龙虎榜丨我爱我家今日涨6.07%,知名游资方新侠净买入3205.2万元

查股网  2024-07-17 21:14  我爱我家(000560)个股分析

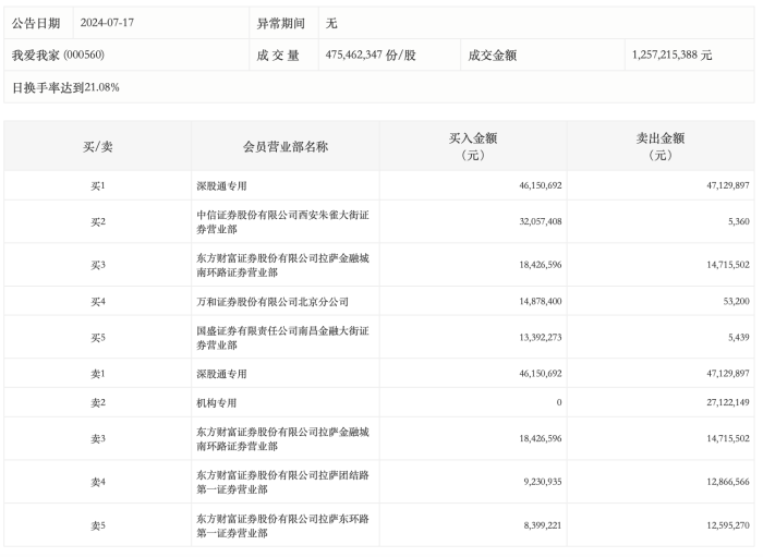
7月17日,我爱我家今日涨6.07%,龙虎榜数据显示,上榜营业部席位全天成交2.57亿元,占当日总成交金额比例为20.44%。其中,买入金额为1.43亿元,卖出金额为1.14亿元,合计净买入2804.21万元。

具体来看,机构合计净卖出2712.21万元。此外,知名游资现身龙虎榜,深股通专用、方新侠(中信证券西安朱雀大街证券营业部)分别买入4615.07万元、3205.74万元;深股通专用、东方财富证券拉萨金融城南环路证券营业部分别卖出4712.99万元、1471.55万元。