ST大集:2024年第一季度亏损1.31亿元

中证智能财讯 ST大集(000564)4月26日披露2024年一季报。2024年第一季度,公司实现营业总收入3.90亿元,同比增长6.07%;归母净利润亏损1.31亿元,上年同期亏损9000.71万元;扣非净利润亏损1.19亿元,上年同期亏损1.00亿元;经营活动产生的现金流量净额为-4527.68万元,上年同期为-2516.73万元;报告期内,ST大集基本每股收益为-0.0068元,加权平均净资产收益率为-1.17%。

2024年第一季度,公司毛利率为28.24%,同比下降13.93个百分点;净利率为-34.94%,较上年同期下降9.26个百分点。

数据显示,2024年第一季度公司加权平均净资产收益率为-1.17%,较上年同期下降0.37个百分点;公司2024年第一季度投入资本回报率为-0.27%,较上年同期下降0.20个百分点。

2024年第一季度,公司经营活动现金流净额为-4527.68万元,同比减少2010.95万元;筹资活动现金流净额9.00亿元,同比增加9.12亿元;投资活动现金流净额-590.82万元,上年同期为-437.97万元。

2024年第一季度,公司营业收入现金比为150.79%。

资产重大变化方面,截至2024年一季度末,公司货币资金较上年末增加278.14%,占公司总资产比重上升2.88个百分点;投资性房地产较上年末减少0.01%,占公司总资产比重下降1.29个百分点;存货较上年末减少0.49%,占公司总资产比重下降0.41个百分点;固定资产较上年末减少1.27%,占公司总资产比重下降0.26个百分点。

负债重大变化方面,截至2024年一季度末,公司其他应付款(含利息和股利)较上年末减少23.72%,占公司总资产比重下降1.42个百分点;长期借款较上年末增加1.44%,占公司总资产比重下降0.25个百分点;应付账款较上年末减少4.31%,占公司总资产比重下降0.15个百分点;应付职工薪酬较上年末减少9.37%,占公司总资产比重下降0.07个百分点。

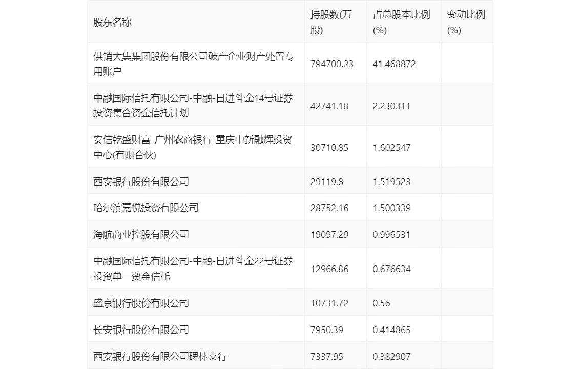
一季报显示,2024年一季度末公司十大流通股东中,持股最多的为供销大集集团股份有限公司破产企业财产处置专用账户,占比41.47%。十大流通股东名单相比2023年年报维持不变。

筹码集中度方面,截至2024年一季度末,公司股东总户数为10.93万户,较上年末下降了3985户,降幅3.52%;户均持股市值由上年末的24.70万元上升至34.37万元,增幅为39.15%。
