龙虎榜丨供销大集今日涨停,机构合计净买入2899.12万元

查股网  2024-06-04 21:06  ST大集(000564)个股分析

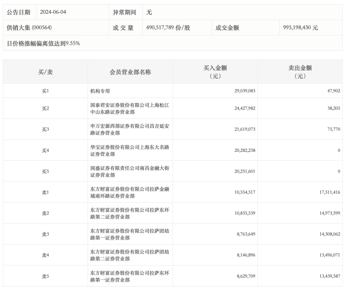
6月4日,供销大集今日涨停,龙虎榜数据显示,上榜营业部席位全天成交2.36亿元,占当日总成交金额比例为23.76%。其中,买入金额为1.63亿元,卖出金额为7389.06万元,合计净买入8865.97万元。

具体来看,机构买入2903.91万元,卖出4.79万元,合计净买入2899.12万元。此外,国泰君安证券上海松江中山东路证券营业部、申万宏源西部证券有限公司昌吉延安路证券营业部分别买入2442.80万元、2161.91万元;东方财富证券拉萨金融城南环路证券营业部、东方财富证券拉萨东环路第二证券营业部分别卖出1751.14万元、1497.36万元。