龙虎榜丨供销大集今日涨停,知名游资方新侠净买入7419.9万元

查股网  2024-11-21 21:04  供销大集(000564)个股分析

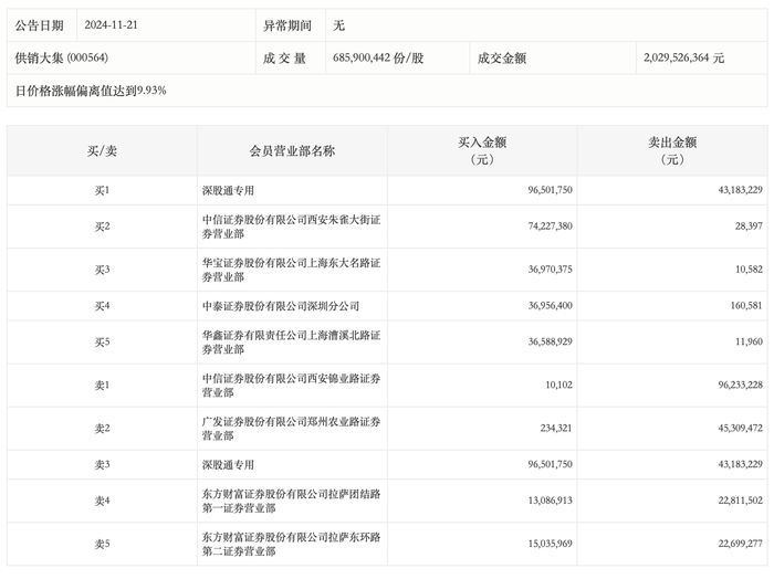
11月21日,供销大集今日涨停,龙虎榜数据显示,上榜营业部席位全天成交5.4亿元,占当日总成交金额比例为26.61%。其中,买入金额为3.1亿元,卖出金额为2.3亿元,合计净买入7916.39万元。

具体来看,知名游资现身龙虎榜,深股通专用、方新侠(中信证券西安朱雀大街证券营业部)分别买入9650.18万元、7422.74万元;中信证券西安锦业路证券营业部、广发证券郑州农业路证券营业部分别卖出9623.32万元、4530.95万元。