查股网.CN
首页
选股
热点
资金
板块
大盘
DDX
游资
龙虎
导航
龙虎榜丨供销大集今日涨停,一机构净卖出1.16亿元
龙虎榜丨供销大集今日涨停,一机构净卖出1.16亿元
查股网
2024-12-05 16:58
供销大集(000564)个股分析
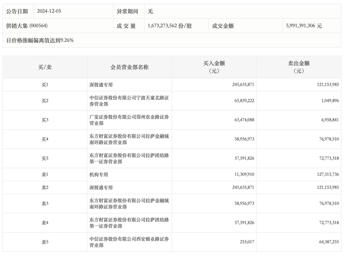
12月5日,
供销大集
今日涨停,成交额59.91亿元,换手率11.72%,盘后龙虎榜数据显示,深股通专用席位买入2.46亿元并卖出1.21亿元,一机构净卖出1.16亿元。