海南海药:2024年第一季度亏损1584.23万元

中证智能财讯 海南海药(000566)4月30日披露2024年一季报。2024年第一季度,公司实现营业总收入3.63亿元,同比下降26.67%;归母净利润亏损1584.23万元,上年同期盈利466.97万元;扣非净利润亏损2033.27万元,上年同期亏损1809.01万元;经营活动产生的现金流量净额为2199.90万元,同比增长1253.35%;报告期内,海南海药基本每股收益为-0.0122元,加权平均净资产收益率为-0.77%。


2024年第一季度,公司毛利率为38.96%,同比下降0.28个百分点;净利率为-6.74%,较上年同期下降6.85个百分点。

数据显示,2024年第一季度公司加权平均净资产收益率为-0.77%,较上年同期下降0.99个百分点;公司2024年第一季度投入资本回报率为0.22%,较上年同期增长0.15个百分点。

2024年第一季度,公司经营活动现金流净额为2199.90万元,同比增长1253.35%,主要系本报告期通过票据支付的货款较上年同期增加所致;筹资活动现金流净额3748.51万元,同比减少1.99亿元,主要系本报告期内收到金融机构借款较上年同期减少所致;投资活动现金流净额-5867.68万元,上年同期为-4205.76万元,主要系上年同期处置子公司湖南鸿星堂股权及出售股票收回款项所致。

2024年第一季度,公司营业收入现金比为77.68%,净现比为-138.86%。

资产重大变化方面,截至2024年一季度末,公司应收账款较上年末增加22.33%,占公司总资产比重上升1.01个百分点;固定资产较上年末减少1.92%,占公司总资产比重下降0.68个百分点;应收票据较上年末减少26.67%,占公司总资产比重下降0.45个百分点;存货较上年末增加9.63%,占公司总资产比重上升0.35个百分点。

负债重大变化方面,截至2024年一季度末,公司短期借款较上年末减少21.44%,占公司总资产比重下降5.48个百分点;其他应付款(含利息和股利)较上年末增加42.10%,占公司总资产比重上升3.50个百分点;一年内到期的非流动负债较上年末增加21.91%,占公司总资产比重上升1.84个百分点;长期应付款合计较上年末增加65.99%,占公司总资产比重上升1.47个百分点。

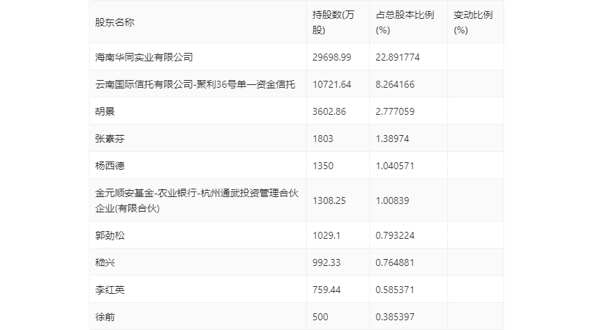
一季报显示,2024年一季度末公司十大流通股东中,新进股东为徐前,取代了上年末的香港中央结算有限公司。在具体持股比例上,张素芬、杨西德持股有所上升。

筹码集中度方面,截至2024年一季度末,公司股东总户数为5.01万户,较上年末下降了807户,降幅1.59%;户均持股市值由上年末的11.52万元下降至9.59万元,降幅为16.75%。
