龙虎榜丨海马汽车今日涨停,知名游资宁波桑田路净买入1208.34万元

http://ddx.gubit.cn  2023-07-28 22:37  海马汽车(000572)公司分析

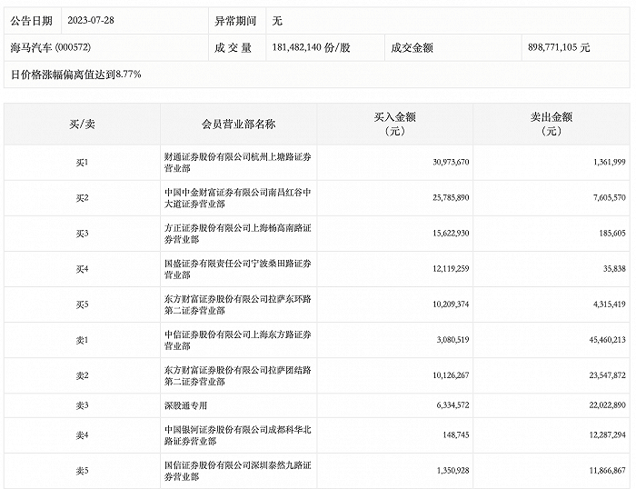
7月28日,海马汽车今日涨停,龙虎榜数据显示,上榜营业部席位全天成交2.44亿元,占当日总成交金额比例为27.2%。其中,买入金额为1.16亿元,卖出金额为1.29亿元,合计净卖出1293.74万元。

具体来看,知名游资现身龙虎榜,宁波桑田路(国盛证券有限责任公司宁波桑田路证券营业部)净买入1208.34万元。此外,财通证券杭州上塘路证券营业部、中国中金财富证券有限公司南昌红谷中大道证券营业部分别买入3097.37万元、2578.59万元;中信证券上海东方路证券营业部、东方财富证券拉萨团结路第二证券营业部分别卖出4546.02万元、2354.79万元。