龙虎榜 | 西安旅游今日跌0.19%,知名游资宁波桑田路卖出4523.13万元

http://ddx.gubit.cn  2023-04-20 16:45  西安旅游(000610)公司分析

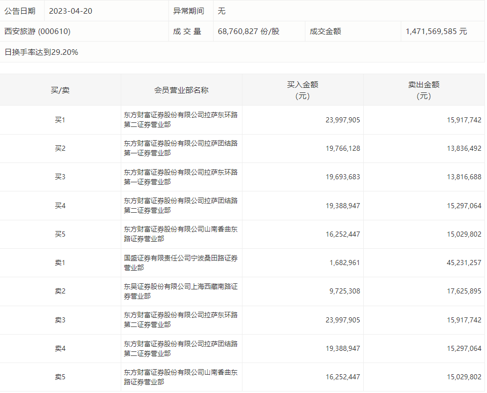
4月20日,西安旅游今日跌0.19%,龙虎榜数据显示,上榜营业部席位全天成交2.47亿元,占当日总成交金额比例为16.8%。其中,买入金额为1.11亿元,卖出金额为1.37亿元,合计净卖出2624.76万元。

具体来看,知名游资现身龙虎榜,宁波桑田路(国盛证券宁波桑田路证券营业部)、东吴证券上海西藏南路证券营业部分别卖出4523.13万元、1762.59万元;东方财富证券拉萨东环路第二证券营业部、东方财富证券拉萨团结路第一证券营业部分别买入2399.79万元、1976.61万元。