化石能源净流入4.71亿元 长安汽车净流入9.44亿元

查股网  2024-04-11 17:09  长安汽车(000625)个股分析

转自:中国证券网

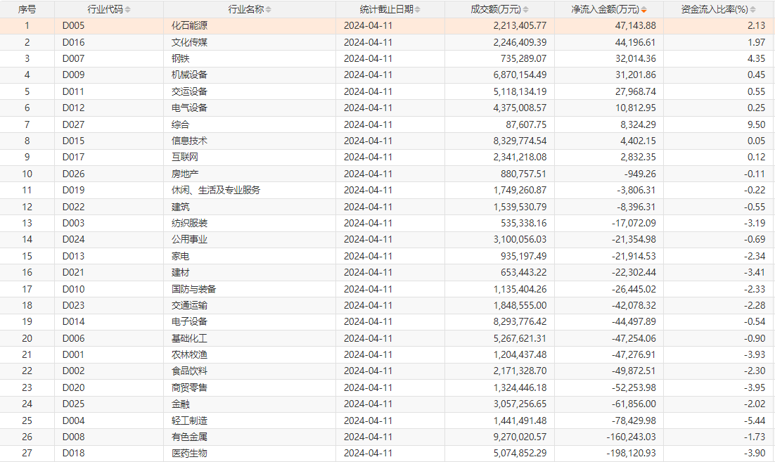
上证报中国证券网讯 据Choice数据统计,今日A股主力资金净流出69.5亿元;行业方面,化石能源净流入居首,为4.71亿元,文化传媒净流入4.42亿元,钢铁净流入3.2亿元;净流出金额最多的是医药生物,为19.81亿元,有色金属净流出16.02亿元,轻工制造净流出7.84亿元。个股方面,主力资金净流入前三的是长安汽车三六零灿芯股份,分别净流入9.44亿元、6.99亿元、4.5亿元;净流出前三的是药明康德万丰奥威宗申动力,分别净流出10.86亿元、6.44亿元、4.99亿元。

数据来源:Choice数据来源:Choice