龙虎榜丨高新发展今日跌8.3%,机构合计净卖出667.12万元

查股网  2024-01-26 22:46  高新发展(000628)个股分析

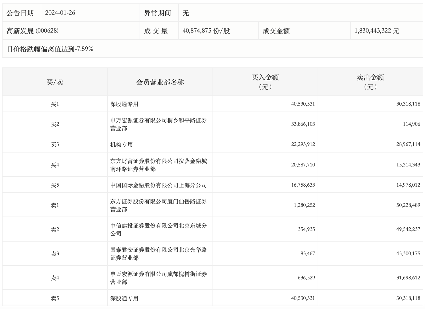
1月26日,高新发展今日跌8.3%,全天换手率达21.28%,振幅达7.83%。龙虎榜数据显示,营业部席位合计净卖出1.3亿元。其中,机构买入2229.59万元,卖出2896.71万元,合计净卖出667.12万元。此外,东方证券厦门仙岳路证券营业部、中信建投证券北京东城分公司分别卖出5022.85万元、4954.22万元;深股通专用、申万宏源证券有限公司桐乡和平路证券营业部分别买入4053.05万元、3386.61万元。