龙虎榜丨高新发展今日涨停,机构合计净买入2994.46万元

查股网  2024-02-27 19:24  高新发展(000628)个股分析

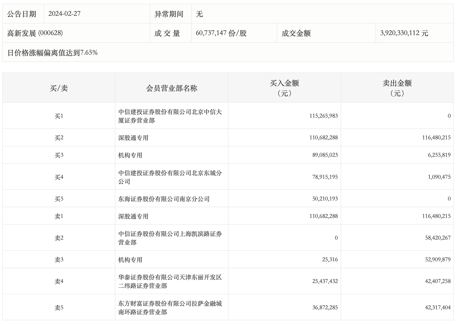
2月27日,高新发展今日涨停,龙虎榜数据显示,上榜营业部席位全天成交8.26亿元,占当日总成交金额比例为21.08%。其中,买入金额为5.06亿元,卖出金额为3.2亿元,合计净买入1.87亿元。

具体来看,机构买入8911.03万元,卖出5916.57万元,合计净买入2994.46万元。此外,中信建投证券北京中信大厦证券营业部、深股通专用分别买入1.15亿元、1.11亿元;深股通专用、中信证券上海凯滨路证券营业部分别卖出1.16亿元、5842.03万元。