*ST金科:2024年上半年亏损38.01亿元

中证智能财讯 *ST金科(000656)8月31日披露2024年半年度报告。2024年上半年,公司实现营业收入160.48亿元,同比下降38.45%;归母净利润亏损38.01亿元,上年同期亏损19.4亿元;扣非净利润亏损29.16亿元,上年同期亏损10.77亿元;经营活动产生的现金流量净额为-8.82亿元,上年同期为-4.43亿元;报告期内,*ST金科基本每股收益为-0.72元,加权平均净资产收益率为-236.07%。

以8月30日收盘价计算,*ST金科目前市盈率(TTM)约为-0.59倍,市净率(LF)约为-21.71倍,市销率(TTM)约为0.12倍。

公司近年市盈率(TTM)、市净率(LF)、市销率(TTM)历史分位图如下所示:



根据半年报,公司第二季度实现营业总收入85.44亿元,同比下降47.01%,环比增长13.87%;归母净利润-26.4亿元,同比下降60.54%,环比下降127.33%;扣非净利润-20.38亿元,同比下降106.72%,环比下降132.18%。

资料显示,公司在精耕地产主业的同时,系统性打造“地产+”竞争能力,着力塑造智慧服务领先行业的科技赋能能力、大力强化科技产业投资运营能力、构建商旅康养IP打造能力,培育新的业务增长点,形成地产与“地产+”业务的协同发展与双向赋能。
2024年上半年,公司毛利率为14.66%,同比上升1.19个百分点;净利率为-24.33%,较上年同期下降19.10个百分点。从单季度指标来看,2024年第二季度公司毛利率为12.16%,同比下降1.34个百分点,环比下降5.35个百分点;净利率为-32.53%,较上年同期下降24.81个百分点,较上一季度下降17.55个百分点。

2024年上半年,公司经营活动现金流净额为-8.82亿元,同比减少4.39亿元,主要系销售回款减少所致;筹资活动现金流净额-9.20亿元,同比增加5.81亿元,主要系借款归还减少所致;投资活动现金流净额-5045.00万元,上年同期为1730.56万元,主要系对外投资减少所致。
进一步统计发现,2024年上半年公司自由现金流为1.38亿元,相比上年同期下降96.74%。

2024年上半年,公司营业收入现金比为31.92%。

营运能力方面,2024年上半年,公司总资产周转率为0.07次,上年同期为0.09次(2023年上半年行业平均值为0.07次,公司位居同行业28/79);公司应收账款周转率、存货周转率分别为19.84次、0.11次。

2024年上半年,公司期间费用为28.72亿元,较上年同期增加5.71亿元;期间费用率为17.90%,较上年同期上升9.08个百分点。其中,销售费用同比下降37.83%,管理费用同比下降6.13%,财务费用同比增长73.65%。
资料显示,销售费用的变动主要因为销售规模下降及推进降费增效;财务费用的变动主要因为项目竣工交付停止资本化和借款逾期利息增加。

资产重大变化方面,截至2024年上半年末,公司存货较上年末减少8.72%,占公司总资产比重下降0.98个百分点;货币资金较上年末减少34.69%,占公司总资产比重下降0.93个百分点;其他应收款(含利息和股利)较上年末减少2.80%,占公司总资产比重上升0.62个百分点;长期股权投资较上年末减少1.50%,占公司总资产比重上升0.57个百分点。

负债重大变化方面,截至2024年上半年末,公司一年内到期的非流动负债较上年末增加45.46%,占公司总资产比重上升8.06个百分点;合同负债较上年末减少26.57%,占公司总资产比重下降4.22个百分点;长期借款较上年末减少33.15%,占公司总资产比重下降2.15个百分点;其他应付款(含利息和股利)较上年末增加5.67%,占公司总资产比重上升2.86个百分点。

在偿债能力方面,公司2024年上半年末资产负债率为92.13%,相比上年末上升1.33个百分点;有息资产负债率为30.38%,相比上年末上升1.56个百分点。

2024年上半年,公司流动比率为0.94,速动比率为0.28。

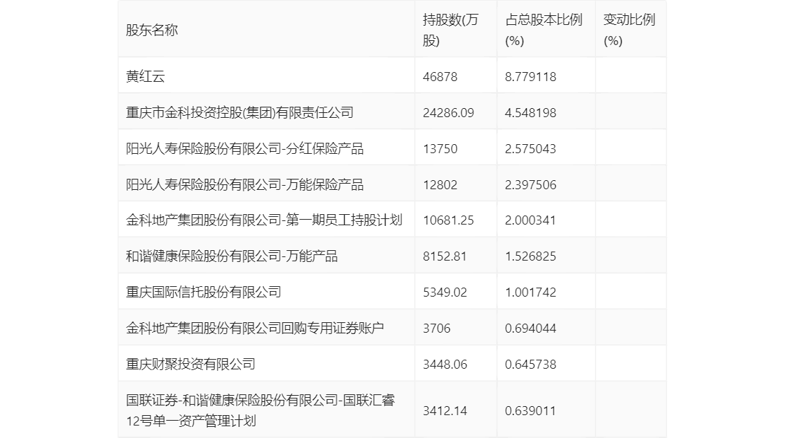
半年报显示,2024年上半年末公司十大流通股东中,新进股东为重庆财聚投资有限公司,取代了一季度末的南方中证全指房地产交易型开放式指数证券投资基金。

筹码集中度方面,截至2024年上半年末,公司股东总户数为17.58万户,较一季度末下降了5.28万户,降幅23.11%;户均持股市值由一季度末的3.27万元上升至3.52万元,增幅为7.65%。

指标注解:
市盈率
=总市值/净利润。当公司亏损时市盈率为负,此时用市盈率估值没有实际意义,往往用市净率或市销率做参考。
市净率
=总市值/净资产。市净率估值法多用于盈利波动较大而净资产相对稳定的公司。
市销率
=总市值/营业收入。市销率估值法通常用于亏损或微利的成长型公司。
文中市盈率和市销率采用TTM方式,即以截至最近一期财报(含预报)12个月的数据计算。市净率采用LF方式,即以最近一期财报数据计算。
市盈率为负时,不显示当期分位数,会导致折线图中断。