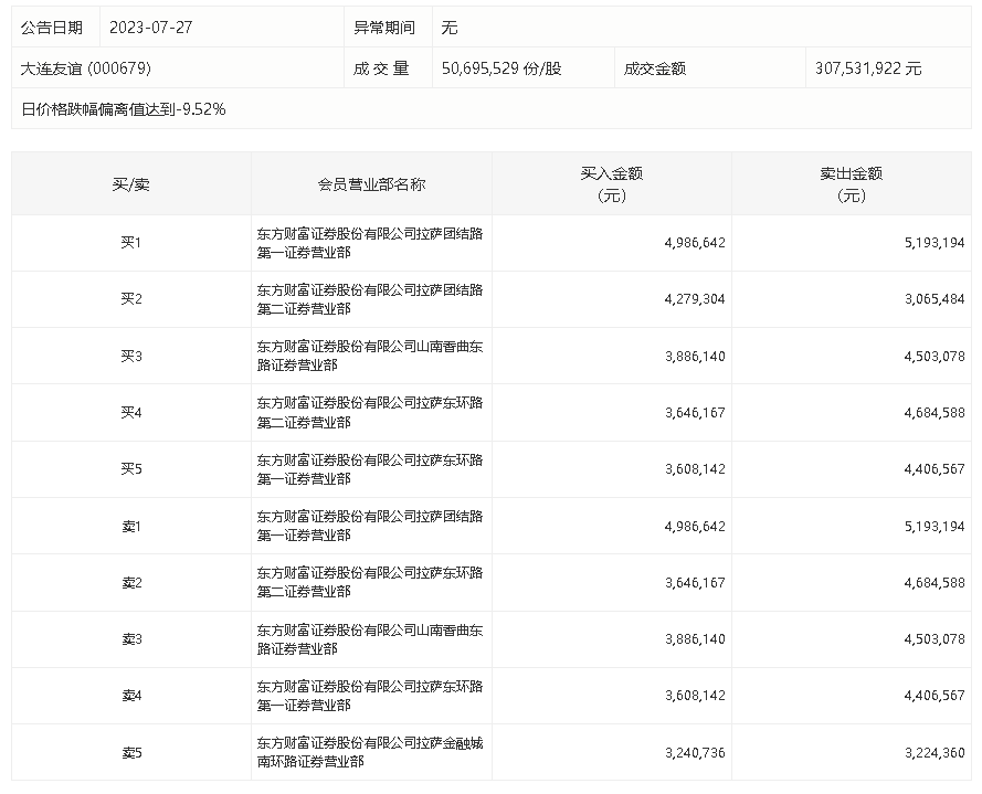
龙虎榜丨大连友谊今日跌停,“拉萨天团”占10席

http://ddx.gubit.cn  2023-07-27 20:09  大连友谊(000679)公司分析

7月27日,大连友谊今日跌停,龙虎榜数据显示,上榜营业部席位全天成交4872.44万元,占当日总成交金额比例为15.84%。其中,买入金额为2364.71万元,卖出金额为2507.73万元,合计净卖出143.01万元。

具体来看,东方财富证券拉萨团结路第一证券营业部、东方财富证券拉萨东环路第二证券营业部分别卖出519.32万元、468.46万元;东方财富证券拉萨团结路第一证券营业部、东方财富证券拉萨团结路第二证券营业部分别买入498.66万元、427.93万元。