宝新能源:2024年第一季度净利润2.05亿元 同比增长 695.70%

中证智能财讯 宝新能源(000690)4月30日披露2024年一季报。2024年第一季度,公司实现营业总收入21.27亿元,同比下降1.89%;归母净利润2.05亿元,同比增长695.70%;扣非净利润2.09亿元,同比增长897.22%;经营活动产生的现金流量净额为4.28亿元,同比增长89.74%;报告期内,宝新能源基本每股收益为0.094元,加权平均净资产收益率为1.67%。

2024年第一季度,公司毛利率为13.68%,同比上升9.09个百分点;净利率为9.83%,较上年同期上升8.64个百分点。

数据显示,2024年第一季度公司加权平均净资产收益率为1.67%,较上年同期增长1.44个百分点;公司2024年第一季度投入资本回报率为1.08%,较上年同期增长0.86个百分点。

2024年第一季度,公司经营活动现金流净额为4.28亿元,同比增长89.74%;筹资活动现金流净额6.84亿元,同比增加2.89亿元;投资活动现金流净额-2.95亿元,上年同期为-7.98亿元。

2024年第一季度,公司营业收入现金比为129.02%,净现比为204.62%。

资产重大变化方面,截至2024年一季度末,公司货币资金较上年末增加17.28%,占公司总资产比重上升3.60个百分点;其他流动资产较上年末减少79.91%,占公司总资产比重下降2.83个百分点;应收账款较上年末减少17.76%,占公司总资产比重下降1.21个百分点;固定资产较上年末减少2.13%,占公司总资产比重下降1.17个百分点。

负债重大变化方面,截至2024年一季度末,公司一年内到期的非流动负债较上年末增加8.11%,占公司总资产比重上升0.32个百分点;应交税费较上年末减少42.26%,占公司总资产比重下降0.38个百分点;长期借款较上年末增加0.76%,占公司总资产比重下降0.12个百分点;短期借款较上年末增加1.81%,占公司总资产比重上升0.03个百分点。

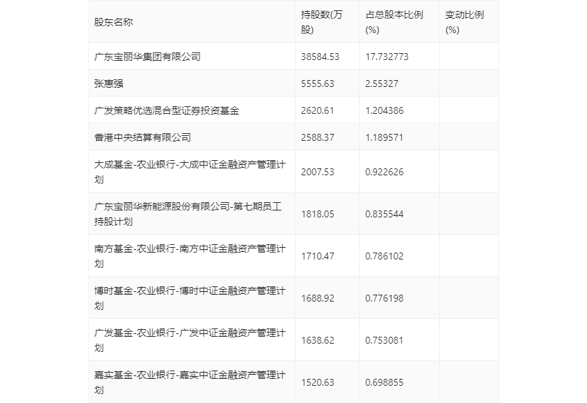
一季报显示,2024年一季度末公司十大流通股东中,新进股东为嘉实基金-农业银行-嘉实中证金融资产管理计划,取代了上年末的交银施罗德定期支付双息平衡混合型证券投资基金。在具体持股比例上,广发策略优选混合型证券投资基金持股有所上升,张惠强、香港中央结算有限公司持股有所下降。

筹码集中度方面,截至2024年一季度末,公司股东总户数为9.73万户,较上年末下降了3873户,降幅3.83%;户均持股市值由上年末的9.53万元上升至11.27万元,增幅为18.26%。
