宝新能源:2024年上半年净利润3.66亿元 同比增长16.62%

中证智能财讯 宝新能源(000690)8月24日披露2024年半年度报告。2024年上半年,公司实现营业收入37.13亿元,同比下降25.69%;归母净利润3.66亿元,同比增长16.62%;扣非净利润4.07亿元,同比增长41.70%;经营活动产生的现金流量净额为8.86亿元,同比增长36.16%;报告期内,宝新能源基本每股收益为0.17元,加权平均净资产收益率为3.03%。

以8月23日收盘价计算,宝新能源目前市盈率(TTM)约为10.04倍,市净率(LF)约为0.8倍,市销率(TTM)约为1.05倍。

公司近年市盈率(TTM)、市净率(LF)、市销率(TTM)历史分位图如下所示:



根据半年报,公司第二季度实现营业总收入15.87亿元,同比下降43.93%,环比下降25.39%;归母净利润1.57亿元,同比下降45.53%,环比下降24.93%;扣非净利润1.98亿元,同比下降25.68%,环比下降5.37%。

资料显示,公司主要业务为新能源发电、金融投资。
分产品来看,2024年上半年公司主营业务中,电力收入37.06亿元,同比下降22.30%,占营业收入的99.80%。

2024年上半年,公司毛利率为15.82%,同比上升6.73个百分点;净利率为9.86%,较上年同期上升3.58个百分点。从单季度指标来看,2024年第二季度公司毛利率为18.68%,同比上升6.14个百分点,环比上升5.00个百分点;净利率为9.89%,较上年同期下降0.29个百分点,较上一季度上升0.06个百分点。

数据显示,2024年上半年公司加权平均净资产收益率为3.03%,较上年同期增长0.29个百分点;公司2024年上半年投入资本回报率为1.95%,较上年同期增长0.09个百分点。

2024年上半年,公司经营活动现金流净额为8.86亿元,同比增长36.16%;筹资活动现金流净额-1.40亿元,同比增加4313.12万元;投资活动现金流净额-11.49亿元,上年同期为-13.14亿元。
进一步统计发现,2024年上半年公司自由现金流为5.87亿元,上年同期为-7.18亿元。

2024年上半年,公司营业收入现金比为140.67%,净现比为242.17%。

营运能力方面,2024年上半年,公司公司总资产周转率为0.18次,上年同期为0.25次(2023年上半年行业平均值为0.21次,公司位居同行业9/28);固定资产周转率为0.52次,上年同期为0.66次(2023年上半年行业平均值为0.41次,公司位居同行业4/28);公司应收账款周转率、存货周转率分别为3.96次、5.98次。

2024年上半年,公司期间费用为1.18亿元,较上年同期减少1979.67万元;但期间费用率为3.19%,较上年同期上升0.42个百分点。其中,销售费用同比下降8.79%,管理费用同比下降1.12%,财务费用同比下降47.81%。
资料显示,财务费用的变动主要因为平均借款余额及借款利率较上年同期下降。

资产重大变化方面,截至2024年上半年末,公司在建工程较上年末增加89.49%,占公司总资产比重上升7.28个百分点;应收账款较上年末减少59.97%,占公司总资产比重下降3.89个百分点;存货较上年末增加150.31%,占公司总资产比重上升2.12个百分点;固定资产较上年末减少4.28%,占公司总资产比重下降1.90个百分点。

负债重大变化方面,截至2024年上半年末,公司其他应付款(含利息和股利)较上年末增加84.51%,占公司总资产比重上升2.04个百分点;一年内到期的非流动负债较上年末增加26.29%,占公司总资产比重上升1.17个百分点;应付账款较上年末减少18.75%,占公司总资产比重下降0.59个百分点;应交税费较上年末减少51.24%,占公司总资产比重下降0.46个百分点。

从存货变动来看,截至2024年上半年末,公司存货账面价值为7.47亿元,占净资产的6.3%。根据财报,公司本期没有计提存货跌价准备。

在偿债能力方面,公司2024年上半年末资产负债率为43.70%,相比上年末上升1.99个百分点;有息资产负债率为36.17%,相比上年末上升1.10个百分点。

2024年上半年,公司流动比率为1.59,速动比率为1.40。

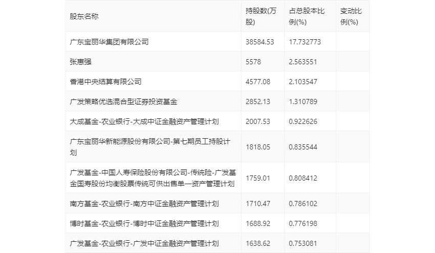
半年报显示,2024年上半年末公司十大流通股东中,新进股东为广发基金-中国人寿保险股份有限公司-传统险-广发基金国寿股份均衡股票传统可供出售单一资产管理计划,取代了一季度末的嘉实基金-农业银行-嘉实中证金融资产管理计划。在具体持股比例上,张惠强、香港中央结算有限公司、广发策略优选混合型证券投资基金持股有所上升。

筹码集中度方面,截至2024年上半年末,公司股东总户数为8.79万户,较一季度末下降了9405户,降幅9.67%;户均持股市值由一季度末的11.27万元上升至12.63万元,增幅为12.07%。

指标注解:
市盈率
=总市值/净利润。当公司亏损时市盈率为负,此时用市盈率估值没有实际意义,往往用市净率或市销率做参考。
市净率
=总市值/净资产。市净率估值法多用于盈利波动较大而净资产相对稳定的公司。
市销率
=总市值/营业收入。市销率估值法通常用于亏损或微利的成长型公司。
文中市盈率和市销率采用TTM方式,即以截至最近一期财报(含预报)12个月的数据计算。市净率采用LF方式,即以最近一期财报数据计算。
市盈率为负时,不显示当期分位数,会导致折线图中断。