龙虎榜丨贝瑞基因今日跌6.08%,机构合计净卖出8598.89万元

查股网  2023-12-06 16:55  贝瑞基因(000710)个股分析

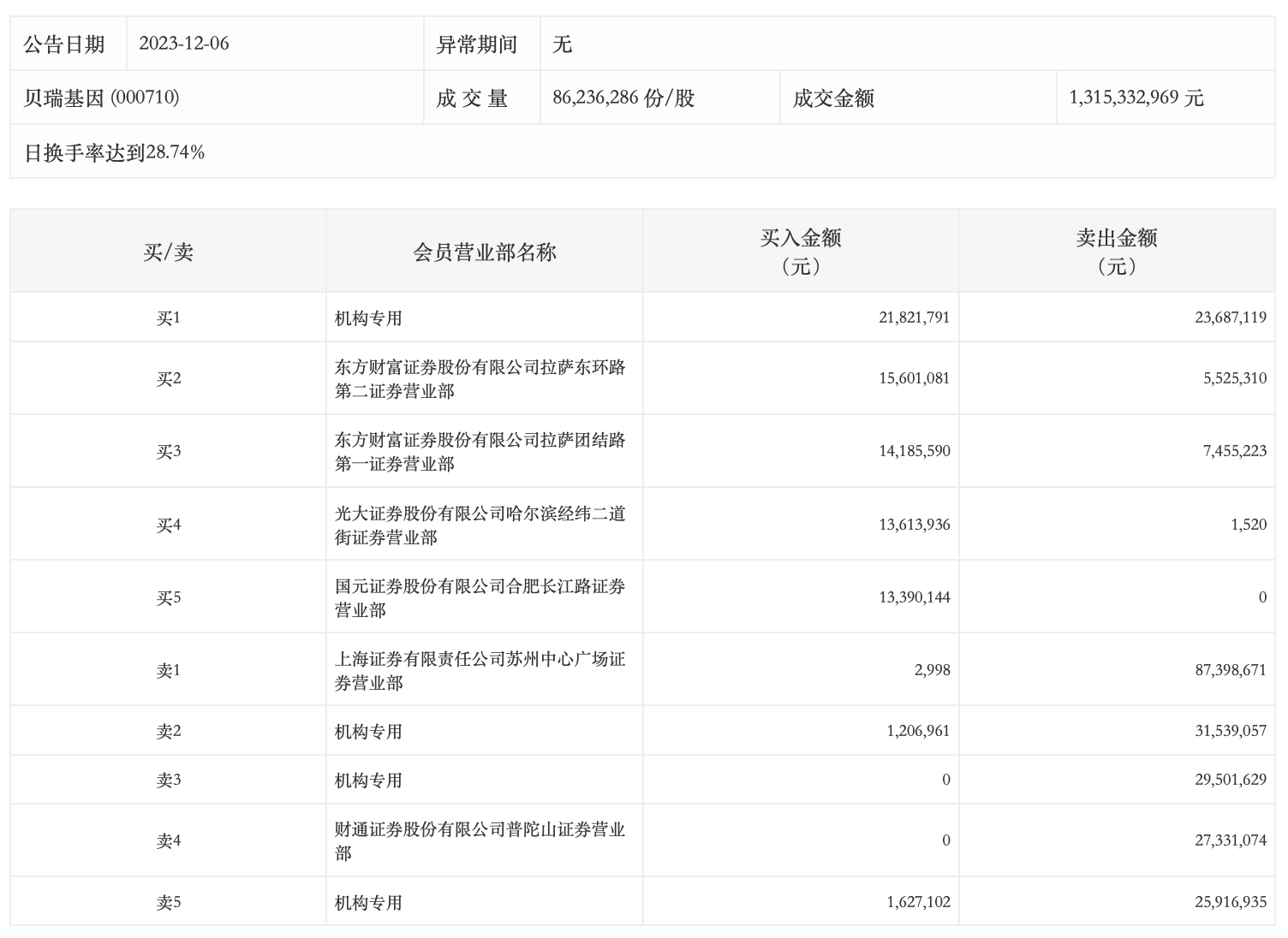
12月6日,贝瑞基因今日跌6.08%,全天换手率达28.31%,振幅达13.32%。龙虎榜数据显示,营业部席位合计净卖出1.57亿元。其中,机构买入2465.59万元,卖出1.11亿元,合计净卖出8598.89万元。此外,上海证券苏州中心广场证券营业部、财通证券普陀山证券营业部分别卖出8739.87万元、2733.11万元;东方财富证券拉萨东环路第二证券营业部、东方财富证券拉萨团结路第一证券营业部分别买入1560.11万元、1418.56万元。