龙虎榜丨锦龙股份今日跌9.55%,知名游资方新侠净卖出2667.71万元

查股网  2024-08-02 21:20  锦龙股份(000712)个股分析

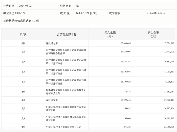
8月2日,锦龙股份今日跌9.55%,龙虎榜数据显示,上榜营业部席位全天成交3.38亿元,占当日总成交金额比例为16.36%。其中,买入金额为1.31亿元,卖出金额为2.07亿元,合计净卖出7610.73万元。

具体来看,知名游资现身龙虎榜,方新侠(中信证券股份有限公司西安朱雀大街证券营业部)净卖出2667.71万元。此外,国泰君安证券河源越王大道证券营业部、深股通专用分别卖出3768.32万元、3737.63万元;深股通专用、东方财富证券拉萨金融城南环路证券营业部分别买入6309.96万元、1764.00万元。