龙虎榜丨锦龙股份今日跌停,“拉萨天团”包揽买入前五

查股网  2024-12-02 21:21  锦龙股份(000712)个股分析

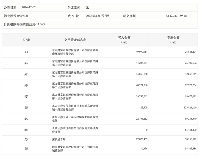
12月2日,锦龙股份今日跌停,龙虎榜数据显示,上榜营业部席位全天成交7.86亿元,占当日总成交金额比例为21.58%。其中,买入金额为2.63亿元,卖出金额为5.23亿元,合计净卖出2.6亿元。

具体来看,东方证券上海浦东新区银城中路证券营业部、甬兴证券有限公司天津解放北路证券营业部分别卖出1.24亿元、9925.33万元;东方财富证券拉萨金融城南环路证券营业部、东方财富证券拉萨团结路第二证券营业部分别买入4999.00万元、4420.52万元。