龙虎榜丨黑芝麻今日涨停,上榜营业部合计净卖出2.2亿元

查股网  2024-11-08 21:21  黑芝麻(000716)个股分析

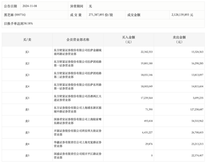
11月8日,黑芝麻今日涨停,龙虎榜数据显示,上榜营业部席位全天成交4.24亿元,占当日总成交金额比例为19.95%。其中,买入金额为1.02亿元,卖出金额为3.22亿元,合计净卖出2.2亿元。

具体来看,东方财富证券拉萨金融城南环路证券营业部、东方财富证券拉萨团结路第一证券营业部分别买入2234.24万元、1980.12万元;东方证券上海浦东新区银城中路证券营业部、国泰君安证券上海陆家嘴东路证券营业部分别卖出1.27亿元、5451.10万元。