中南股份:2024年上半年亏损4.49亿元

中证智能财讯 中南股份(000717)8月30日披露2024年半年度报告。2024年上半年,公司实现营业收入162.81亿元,同比下降16.93%;归母净利润亏损4.49亿元,上年同期盈利314.09万元;扣非净利润亏损5.05亿元,上年同期亏损5618.32万元;经营活动产生的现金流量净额为8798.35万元,同比下降95.23%;报告期内,中南股份基本每股收益为-0.1852元,加权平均净资产收益率为-5.05%。

以8月29日收盘价计算,中南股份目前市盈率(TTM)约为-9.86倍,市净率(LF)约为0.46倍,市销率(TTM)约为0.11倍。

公司近年市盈率(TTM)、市净率(LF)、市销率(TTM)历史分位图如下所示:



根据半年报,公司第二季度实现营业总收入82.31亿元,同比下降21.77%,环比增长2.26%;归母净利润-1.4亿元,同比下降4859.98%,环比增长54.72%;扣非净利润-1.77亿元,同比下降227.05%,环比增长46.27%。

半年报显示,公司主营范围包括制造、加工、销售钢铁冶金产品、金属制品、焦炭及煤化工产品等。
分产品来看,2024年上半年公司主营业务中,螺纹钢收入68.14亿元,同比下降6.20%,占营业收入的41.86%;线材收入30.66亿元,同比下降24.47%,占营业收入的18.83%;板材收入25.38亿元,同比下降18.67%,占营业收入的15.59%。

2024年上半年,公司毛利率为-0.40%,同比下降3.04个百分点;净利率为-2.76%,较上年同期下降2.78个百分点。从单季度指标来看,2024年第二季度公司毛利率为1.15%,同比下降1.40个百分点,环比上升3.14个百分点;净利率为-1.70%,较上年同期下降1.67个百分点,较上一季度上升2.14个百分点。

分产品看,螺纹钢、线材、板材2024年上半年毛利率分别为1.31%、-4.92%、2.31%。

盈利能力方面, 2024年半年度公司加权平均净资产收益率为-5.05%,同比下降5.08个百分点。公司2024年上半年投入资本回报率为-4.53%,较上年同期下降4.61个百分点。

2024年上半年,公司经营活动现金流净额为8798.35万元,同比下降95.23%;筹资活动现金流净额2.14亿元,同比减少1.13亿元;投资活动现金流净额-4.74亿元,上年同期为-8.73亿元。
进一步统计发现,2024年上半年公司自由现金流为-13.36亿元,上年同期为18.26亿元。

2024年上半年,公司营业收入现金比为98.70%,净现比为-19.60%。

营运能力方面,2024年上半年,公司总资产周转率为0.79次,上年同期为0.94次(2023年上半年行业平均值为0.53次,公司位居同行业2/23);固定资产周转率为1.32次,上年同期为1.64次(2023年上半年行业平均值为1.09次,公司位居同行业5/23);公司应收账款周转率、存货周转率分别为130.12次、8.01次。

2024年上半年,公司期间费用为5.23亿元,较上年同期增加857.43万元;期间费用率为3.21%,较上年同期上升0.58个百分点。其中,销售费用同比下降16.69%,管理费用同比下降15.43%,研发费用同比下降8.24%,财务费用同比增长1227.04%。
资料显示,财务费用的变动主要因为美元汇率差导致汇兑损失增加影响。

资产重大变化方面,截至2024年上半年末,公司其他非流动资产较上年末减少34.50%,占公司总资产比重下降2.21个百分点;一年内到期的非流动资产较上年末增加143.26%,占公司总资产比重上升1.80个百分点;在建工程较上年末增加43.65%,占公司总资产比重上升1.60个百分点;存货较上年末减少16.59%,占公司总资产比重下降1.24个百分点。

负债重大变化方面,截至2024年上半年末,公司应付票据较上年末减少17.13%,占公司总资产比重下降1.96个百分点;应付账款较上年末减少5.38%,占公司总资产比重下降0.01个百分点;长期借款较上年末增加9.20%,占公司总资产比重上升1.33个百分点;合同负债较上年末减少12.22%,占公司总资产比重下降0.30个百分点。

从存货变动来看,截至2024年上半年末,公司存货账面价值为18.57亿元,占净资产的21.43%,较上年末减少3.69亿元。其中,存货跌价准备为3026.01万元,计提比例为1.6%。

在偿债能力方面,公司2024年上半年末资产负债率为56.94%,相比上年末下降0.19个百分点;有息资产负债率为13.38%,相比上年末上升1.92个百分点。

2024年上半年,公司流动比率为0.47,速动比率为0.26。

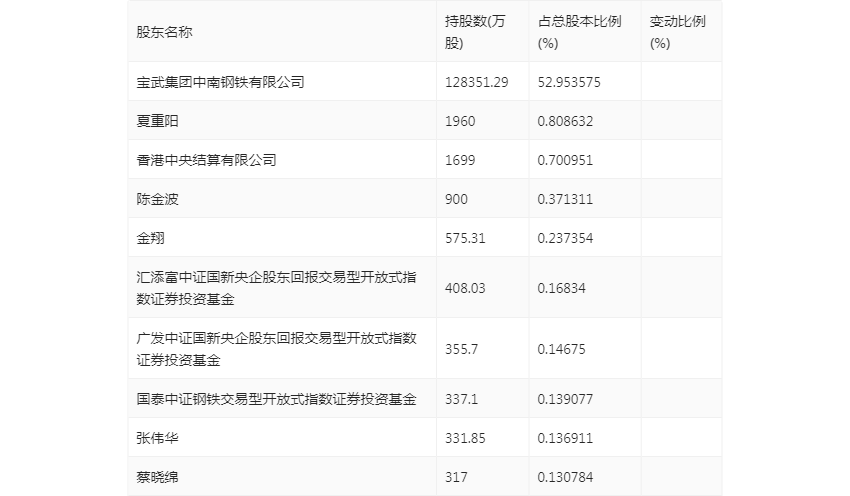
半年报显示,2024年上半年末公司十大流通股东中,新进股东为汇添富中证国新央企股东回报交易型开放式指数证券投资基金,取代了一季度末的谢磊。在具体持股比例上,夏重阳、香港中央结算有限公司、金翔、国泰中证钢铁交易型开放式指数证券投资基金持股有所上升,广发中证国新央企股东回报交易型开放式指数证券投资基金、蔡晓绵持股有所下降。

筹码集中度方面,截至2024年上半年末,公司股东总户数为8.73万户,较一季度末下降了5686户,降幅6.11%;户均持股市值由一季度末的6.12万元下降至4.69万元,降幅为23.37%。

指标注解:
市盈率
=总市值/净利润。当公司亏损时市盈率为负,此时用市盈率估值没有实际意义,往往用市净率或市销率做参考。
市净率
=总市值/净资产。市净率估值法多用于盈利波动较大而净资产相对稳定的公司。
市销率
=总市值/营业收入。市销率估值法通常用于亏损或微利的成长型公司。
文中市盈率和市销率采用TTM方式,即以截至最近一期财报(含预报)12个月的数据计算。市净率采用LF方式,即以最近一期财报数据计算。
市盈率为负时,不显示当期分位数,会导致折线图中断。